Запчасти Case IH 527B (75.200.06) - DISC LEVELER 2007 AND PRIOR UNITS (75) - SOIL PREPARATION

Схема запчастей Case IH 527B - (75.200.06) - DISC LEVELER 2007 AND PRIOR UNITS (75) - SOIL PREPARATION
4
3
18
16
9
23
27
26
22
12
19
10
14
5
17
27
1
21
17
11
13
5
27
4
25
15
3
19
18
27
2
20
7
8
26
6
22
FIT
1:1
100%

Артикул

Название

Примечание

Количество

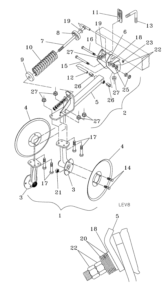
1

09102010

PLOW DISC

1 Blade Complete, Inc. 2 - 4

1шт.

1

09102011

PLOW DISC

2 Blade Complete, Inc. 2 - 4

1шт.

2

09102100

PLOW DISC

Assembly, Inc. 5 - 10, 12, 15 - 16, 18 - 20, 22, And 23

1шт.

3

09103101

HUB

Spindle Mount Assembly

1шт.

4

443628A1

PLOW DISC

Plow Blade

1шт.

5

09102120

ARM/LIFTING DEVICE

Leveler

1шт.

6

09102110

PLOW DISC

Mount

1шт.

7

09102140

EYEBOLT

BOLT, EYE Spring Pivot

1шт.

8

20090100

HOLDER

Spring

1шт.

9

20090101

HOLDER

Spring With Bushing

1шт.

10

24143891

COIL SPRING

Compression, 3-3/4 OD

1шт.

12

51200157

BUSHING,16.66mm ID x 22.05mm OD x 129.39mm L

Heat Treated

1шт.

13

87427190

SPECIAL BOLT

Plow, 5/8 Dia. x 5-5/16, L

1шт.

14

413-816

BOLT,Hex, 1/2" - 13 x 1", Gr 5

Carriage

1шт.

15

13-10112

SCREW,Hex, 5/8" - 11 x 7", Gr 5

1шт.

16

113-2675

BOLT,Hex, 5/8" - 11 x 7-1/4", Gr 2

A325

1шт.

17

413-1032

BOLT,Hex, 5/8" - 11 x 2", Gr 5

1шт.

18

17411012

WASHER

5/8 ID x 1/4

1шт.

19

495-21069

WASHER,5/8"

5/8 ID, SAE

1шт.

20

17511000

BELLEVILLE WASHER

11/16, ZP

6шт.

21

425-108

NUT,1/2" - 13, Gr 5

1шт.

22

425-1010

NUT,5/8"-11, G5

1шт.

23

219-86

LUBE NIPPLE,1/8" NPTF

1шт.

24

18534273

DECAL

Patent

1шт.

25

86992216

NUT

NC, Stover

1шт.

26

51200158

BUSHING,22.72mm ID x 29.08mm OD x 38.1mm L

7/8 ID, Connex

1шт.

27

231-53410

FLANGE NUT,Flg, 5/8"-11

1шт.

Выбрано товаров: 0