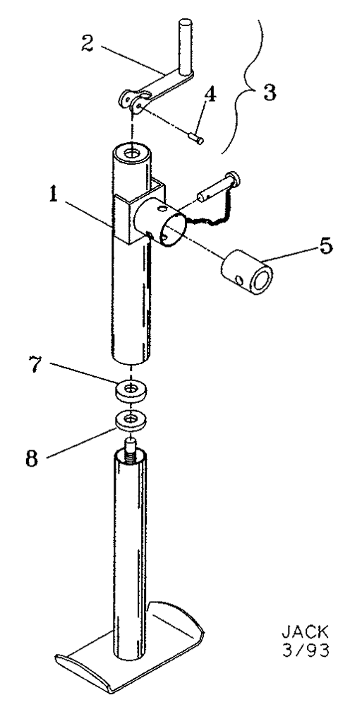
Запчасти Case IH 527B (39.110.01) - JACK (39) - FRAMES AND BALLASTING

Схема запчастей Case IH 527B - (39.110.01) - JACK (39) - FRAMES AND BALLASTING
5
1
2
8
7
3
FIT
1:1
100%

Артикул

Название

Примечание

Количество

1

32230000

JACK

5000 lb

1шт.

2

NSS

NOT SOLD SEPARAT

Jack Handle

1шт.

3

32230100

PACKAGE

Handle Replacement, Inc. 2, 4, And 9

1шт.

4

NSS

NOT SOLD SEPARAT

Bolt, 1/4" x 1", NC, Standard, Hex.

1шт.

5

09311040

TUBE,1.3" ID, 2" OD, 2.62" Length

Mounting

1шт.

7

NSS

NOT SOLD SEPARAT

Thrust Bearing

1шт.

8

NSS

NOT SOLD SEPARAT

Thrust Washer

1шт.

9

NSS

NOT SOLD SEPARAT

Lock Nut, 1/4", Not Shown

1шт.

Выбрано товаров: 8