Запчасти Case IH 527B (75.200.03) - SPRING COULTER (75) - SOIL PREPARATION

Схема запчастей Case IH 527B - (75.200.03) - SPRING COULTER (75) - SOIL PREPARATION
27
11
12
3
16
26
5
8
25
22
9
14
17
4
21
15
10
18
13
28
6
19
17
6
20
7
24
FIT
1:1
100%

Артикул

Название

Примечание

Количество

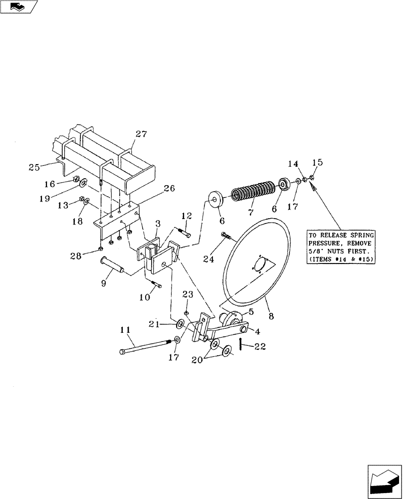
1

09574000

COULTER

With Blade (Not Shown)

1шт.

2

09574100

DISC

Coulter Assembly L/Blade & Mounting Hardware (Not Shown)

1шт.

3

09574230

PIVOT ASSY.

Coulter

1шт.

4

04642030

POWER ARM

Coulter With Hub

1шт.

5

28163311

HUB ASSY.

633 4-Bolt (See Figure 25)

1шт.

6

20090050

HOLDER

Spring Casting

2шт.

7

24156205

COIL SPRING

Compression

1шт.

8

443638A1

PLOW DISC

24" Coulter Blade

1шт.

9

14820570

PIVOT PIN

1шт.

10

413-836

BOLT,Hex, 1/2" - 13 x 2-1/4", Gr 5

1шт.

11

413-10216

BOLT,Hex, 5/8" - 11 x 13-1/2", Gr 5

1шт.

12

413-1232

BOLT,Hex, 3/4" - 10 x 2", Gr 5

NC Gd. 5

1шт.

13

86992215

LOCK NUT,1/2"-13, GC

NC Hex.

1шт.

14

425-1010

NUT,5/8"-11, G5

NC Hex.

1шт.

15

425-1010

NUT,5/8"-11, G5

NC Hex.

1шт.

16

425-1012

NUT,3/4"-10, G5

NC Jam

1шт.

17

17411012

WASHER

5/8" Heavy

2шт.

18

492-11050

LOCK WASHER,1/2"

1шт.

19

492-11075

LOCK WASHER,3/4"

1шт.

20

17620020

BUSHING,32.15mm ID x 47.63mm OD x 2.08mm L

1-1/4" Machine - 14 Ga.

2шт.

21

17620030

WASHER,32.15mm ID x 47.63mm OD x 10mm Thk

1-1/4" Machine - 10 Ga.

1шт.

22

432-1624

COTTER PIN,1/4" x 1 1/2"

1шт.

23

219-86

LUBE NIPPLE,1/8" NPTF

NPT

1шт.

24

414-820

BOLT,Hex, 1/2" - 20 x 1-1/4", Gr 5

Gd. 5

4шт.

25

09650530

ANCHOR

Staggered Coulter Angle Mount

4шт.

26

09650540

SUPPORT

Coulter Angle Mount

4шт.

27

87427177

U-BOLT

BOLT "U" 5/8" x 3"

8шт.

28

425-1010

NUT,5/8"-11, G5

NC Hex. Gd. 5 Z.P.

16шт.

Выбрано товаров: 0