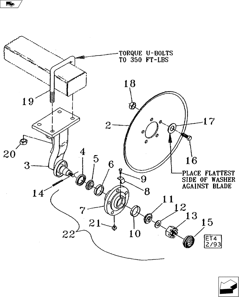
Запчасти Case IH 530B (75.200.05) - RIGID DISC MOUNT ASSEMBLY (75) - SOIL PREPARATION

Схема запчастей Case IH 530B - (75.200.05) - RIGID DISC MOUNT ASSEMBLY (75) - SOIL PREPARATION
20
21
15
11
22
18
8
14
3
10
7
6
17
4
2
12
5
19
16
9
13
FIT
1:1
100%

Артикул

Название

Примечание

Количество

1

09985200

BAR ASSY.

Center Disc Mount Assembly (Not Shown)

1шт.

1

09985260

SHANK

Disc Mount Assembly - R.H. (Not Shown)

1шт.

1

09985250

BAR ASSY.

Disc Mount Assembly - L.H. (Not Shown)

1шт.

2

443632A1

PLOW DISC

20" Blade

1шт.

2

443634A1

PLOW DISC

20" Notched Blade, Serial Range: -825499

1шт.

2

443636A1

PLOW DISC

22" Blade

1шт.

3

09985210

BAR ASSY.

Center Disc Mount Less Hub

1шт.

3

09985280

BRACKET

Disc Mount Less Hub - R.H.

1шт.

3

09985270

BRACKET

Disc Mount Less Hub - L.H.

1шт.

4

21932120

SEAL,53.98mm ID x 76.2mm OD x 6.35mm Thk

3.00" O.D. - Carbox #115

1шт.

In an emergency Chicago Rawhide seal #21159 may be used, but the DM1 seal is a higher quality of material.

1шт.

5

663557R91

BEARING ASSY,1.625" ID x 2.892" OD x 0.77"

1.62" - Timken #LM501349

1шт.

6

663558R1

BEARING CUP

2.89" O.D. - Timken #LM501310

1шт.

7

28705012

HUB ASSY.

Disc With Cups

1шт.

8

09970770

RETAINER

Dust Cap

1шт.

9

413-58

BOLT,Hex, 5/16" - 18 x 1/2", Gr 5

1шт.

10

651817R1

BEARING CUP

2.33" O.D. - Timken #LM67010

1шт.

11

651818R91

ROLLER BEARING,31.77 mm ID x 16.08 mm

1.25" - Timken #LM67048

1шт.

12

17915000

WASHER

7/8" Hardened

1шт.

13

425-1314

SLOTTED NUT,7/8"-14, G5

1шт.

14

432-1024

COTTER PIN,5/32" x 1 1/2"

1шт.

15

28490001

HUB CAP

Dust

1шт.

16

426-832

BOLT,Hex, 1/2" - 13 x 2", Gr 8

5шт.

17

17409010

WASHER,14.22mm ID x 35.05mm OD x 4.75mm Thk

9/16" I.D. x 1-3/8" O.D. Special

5шт.

18

86992215

LOCK NUT,1/2"-13, GC

5шт.

19

16312240

U-BOLT

3/4" NC x 4" x 6" Square

2шт.

20

425-1012

NUT,3/4"-10, G5

4шт.

21

219-87

LUBE NIPPLE,1/4" - 28 NPTF

1шт.

22

28199902

HUB ASSY.

Complete

1шт.

Выбрано товаров: 29