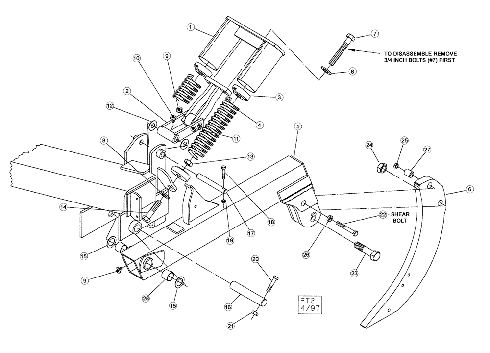
Запчасти Case IH 530C (75.200.03) - MAIN FRAME AUTO-RESET ASSEMBLY (09) - CHASSIS/ATTACHMENTS

Схема запчастей Case IH 530C - (75.200.03) - MAIN FRAME AUTO-RESET ASSEMBLY (09) - CHASSIS/ATTACHMENTS
16
18
28
12
11
20
6
26
21
17
10
15
24
8
2
22
9
15
5
23
8
4
27
19
9
1
13
3
14
25
7
FIT
1:1
100%

Артикул

Название

Примечание

Количество

1

09984675

SPRING BOX

Auto-Reset Canister

1шт.

2

09984650

LINK/SHACKLE

Auto-Reset

1шт.

3

20090090

SPRING BOX

Casting

4шт.

4

24162501

COIL SPRING

Compression

2шт.

5

09984645

BEAM ASSY.

Includes Ref. 39 & 41

1шт.

6

09983476

SHANK

Hard Surfaced, Includes Ref. 40

1шт.

7

16901225

CAPSCREW,Hex, 3/4" - 10 x 6 1/2", Gr 5

3/4 x 6-1/2, NC, Hex., Gd. 5

2шт.

8

17413011

WASHER

3/4, Standard

4шт.

9

219-87

LUBE NIPPLE,1/4" - 28 NPTF

Drive, Straight

2шт.

10

219-86

LUBE NIPPLE,1/8" NPTF

NPT, Self - Tapping

1шт.

11

219-40

LUBE NIPPLE,65 Degree Elbow, 1/8" - 27 NPTF

Self - Tapping

1шт.

12

17616020

WASHER

1 Dia, Machine, 14 Ga

2шт.

13

425-1012

NUT,3/4"-10, G5

Hex.

1шт.

14

413-1248

BOLT,Hex, 3/4" - 10 x 3", Gr 5

2шт.

15

17627010

WASHER,41.67mm ID x 60.33mm OD x 2.08mm Thk

1-5/8, Dia, 14 Ga

2шт.

16

14892671

SPECIAL PIN,41.27mm OD x 230.12mm L

1-5/8, Dia, H.T.

1шт.

17

00148150

SPECIAL PIN

1, Dia

1шт.

18

413-636

BOLT,Hex, 3/8" - 16 x 2-1/4", Gr 5

NC

1шт.

19

231-4246

LOCK NUT,3/8"-16, GB

NC Hex.

1шт.

20

87339

BOLT,Hex, 1/2" - 13 x 3", Gr 5

NC

1шт.

21

86992215

LOCK NUT,1/2"-13, GC

NC, Stover

1шт.

22

88729

BOLT,Hex, 5/8" - 11 x 5", Gr 5

1шт.

23

16902016

BOLT

1-1/4 x 4, NC, Hex., Gd 5

1шт.

24

25-1420

JAM NUT,Jam, 1 1/4"-7, G5

NC

1шт.

25

425-1010

NUT,5/8"-11, G5

NC Hex.

1шт.

26

44006520

BUSHING

Large, 1-5/16

2шт.

27

44006530

BUSHING

Large, 1-1/2

1шт.

28

44016250

SPACER

1-5/8

2шт.

Выбрано товаров: 28