Запчасти Case IH 55 (G-03[A]) - 6 FOOT MULCHER WITH 25 WING MODEL

Схема запчастей Case IH 55 - (G-03[A]) - 6 FOOT MULCHER WITH 25 WING MODEL
FIT
1:1
100%

Артикул

Название

Примечание

Количество

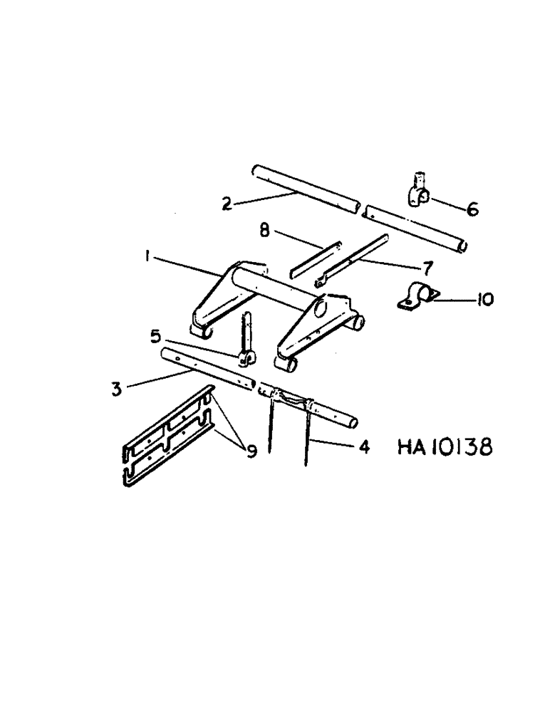
1

485616R2

FRAME

6 foot mulcher

1шт.

2

485599R1

TUBE

BAR, 6 foot 1st tooth

1шт.

3

485600R1

TUBE

BAR, 6 foot 3rd tooth

1шт.

137313

PIN,1/4" x 2 3/4"

Split (Cotter), 1/4" x 2 3/4"

4шт.

4

72901C1

TOOTH

mulcher spring

10шт.

478082R1

BOLT, tooth shoulder

20шт.

472144R1

NUT

3/8-16 hex lock

20шт.

5

485592R1

ARM

HANDLE, frame

1шт.

180159

BOLT,Hex, 7/16" - 14 x 2 3/4", Gr 5

7/16-14 x 2-3/4 hex-hd

2шт.

5

473213R1

LOCK NUT,7/16"-14, GB

NUT, 7/16-14 hex-lock

2шт.

6

485601R1

ARM

POST, center bar

1шт.

7

485593R1

SUPPORT

REACH, handle

1шт.

8

485594R1

BAR

REACH, adjusting

1шт.

21658R1

HEADED PIN,7/16" x 1"

PIN, 7/16 x 1 std-hd-dld

4шт.

607891R1

WASHER

3шт.

120169

COTTER PIN,5/32" x 1"

PIN, SPLIT (COTTER), 5/32" x 1"

3шт.

480523R1

HAIR PIN COTTER

quick attachable

1шт.

9

485598R1

SUPPORT

RAIL, centre

2шт.

180077

BOLT,Hex, 5/16" - 18 x 3/4", Gr 5

5/16-18 x 3/4 hex-hd

2шт.

120376

NUT,5/16"-18, G5

2шт.

80681

LOCK WASHER,5/16"

WASHER, LOCK, 5/16"

2шт.

10

NOT USED THIS APPLICATION

1шт.

Выбрано товаров: 22