Запчасти Case IH 55 (G-05) - 12 FOOT 3 INCH MULCHER

Схема запчастей Case IH 55 - (G-05) - 12 FOOT 3 INCH MULCHER
FIT
1:1
100%

Артикул

Название

Примечание

Количество

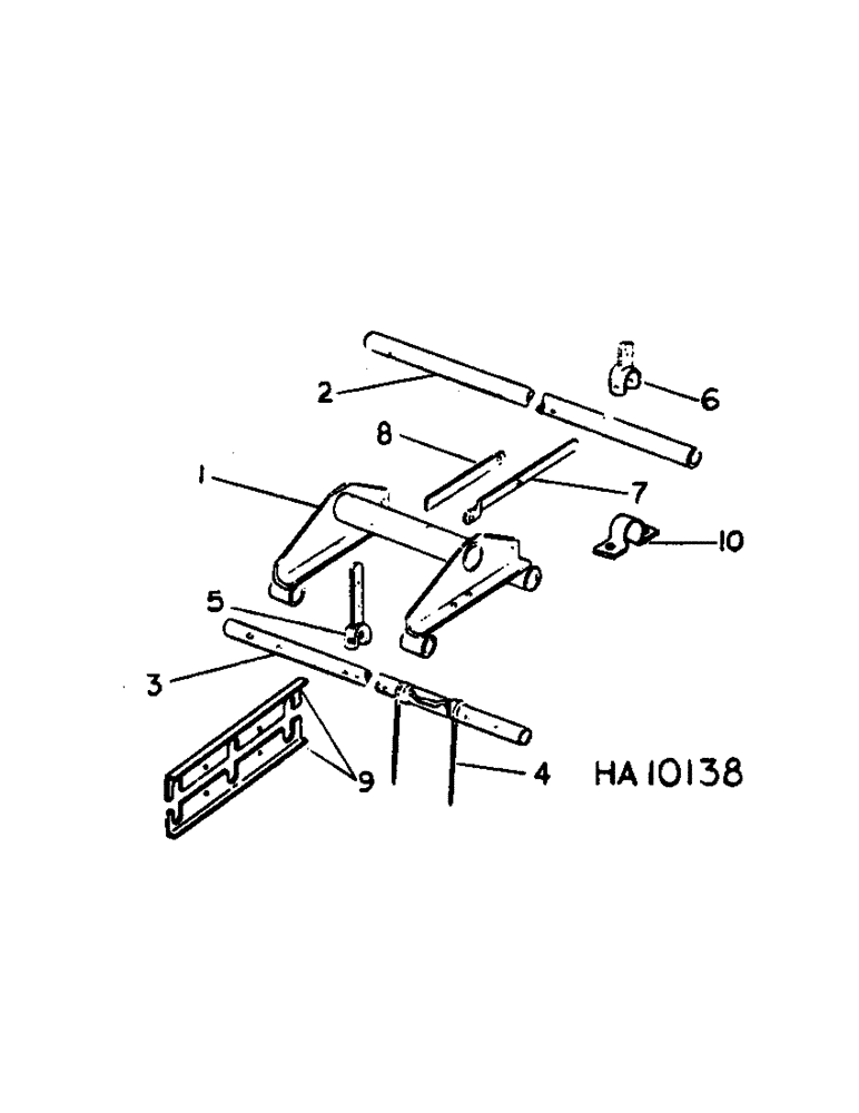
1

813021C1

FRAME, 12 foot 3 inch mulcher

1шт.

2

813028C1

TUBE,1.66" OD, 143.875" Length

12 foot 3 inch 1st tooth

1шт.

3

813034C1

TUBE, 12 foot 3 inch 3rd tooth 1.66" OD, 143.875" Length

1шт.

4

72901C1

TOOTH

spring

20шт.

487082R1

BOLT,Hex, 3/8" - 16 x 2 3/4"

3/8-16 x 2-3/4 hex-hd sp

40шт.

472144R1

NUT

3/8-16 hex-lock

40шт.

5

485592R1

ARM

rear handle

2шт.

180159

BOLT,Hex, 7/16" - 14 x 2 3/4", Gr 5

7/16-14 x 2-3/4 hex-hd

2шт.

473213R1

LOCK NUT,7/16"-14, GB

NUT, 7/16-14 hex-lock

2шт.

6

485601R1

ARM

front post

2шт.

NLS

NO LONGER SERVICED

7/16-14 x 2-3/4 hex-hd

2шт.

473213R1

LOCK NUT,7/16"-14, GB

NUT, 7/16-14 hex

2шт.

7

485593R1

SUPPORT

BRACE, handle reach

2шт.

8

485594R1

BAR

adjusting reach

2шт.

21658R1

HEADED PIN,7/16" x 1"

PIN, 7/16 x 1 std-hd-dld

8шт.

21331R1

WASHER

.469 x 1.250 x .054

6шт.

120169

COTTER PIN,5/32" x 1"

PIN, SPLIT (COTTER), 5/32" x 1"

6шт.

480523R1

HAIR PIN COTTER

quick attachable

2шт.

9

NOT USED THIS APPLICATION

1шт.

10

813036C1

CLAMP

tooth bar tube

8шт.

180122

BOLT,Hex, 3/8" - 16 x 1", Gr 5

3/8-16 x 1 hex-hd

16шт.

120377

NUT,3/8" - 16, Gr 5

16шт.

120382

LOCK WASHER,Helical Spring, 3/8"

WASHER, LOCK, 3/8"

16шт.

137313

PIN,1/4" x 2 3/4"

Split (Cotter), 1/4" x 2 3/4"

4шт.

Выбрано товаров: 24