Запчасти Case IH 5500 (A-02) - GROUND WORKING TOOLS AND SHANKS, CUSHION CLAMP AND SHANK, REGULAR CLEARANCE SHANK

Схема запчастей Case IH 5500 - (A-02) - GROUND WORKING TOOLS AND SHANKS, CUSHION CLAMP AND SHANK, REGULAR CLEARANCE SHANK
FIT
1:1
100%

Артикул

Название

Примечание

Количество

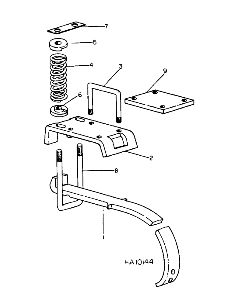
1

608341R1

SHANK

25 inch clearance ground working tool (Replaces 608341R1)

1шт.

1

609130R3

SHANK

32 inch clearance ground working tool

1шт.

2

608346R1

BRACKET

clamping 25 inch clearance

1шт.

2

609131R2

SUPPORT ASSY.

BRACKET, clamping 32 inch clearance

1шт.

3

608294R1

U-BOLT,U, 5/8" - 11 x 134mm

clamping bracket 25 inch clearance

2шт.

280374

NUT,Hex, 5/8" - 11, Gr 5

5/8 type 5

4шт.

492-11062

BEARING WASHER,5/8"

WASHER, LOCK, 5/8"

4шт.

4

608347R1

SPRING

cushion 25 inch clearance

2шт.

Ref #4 - (10.57") 08/19/96

1шт.

4

609133R1

VALVE SPRING

SPRING, trip 32 inch clearance

2шт.

Ref #4A - (11.53") 08/19/96

1шт.

5

608348R1

RETAINER

spring upper

2шт.

6

608349R21

RETAINER

PACKAGE, spring lower seat service, Includes 2 lower seats

1шт.

7

591755R1

STRIP

BAR, spring tie

1шт.

8

602331R1

BOLT,U, 3/4" - 10 x 13.20"

U-BOLT, spring 25 inch clearance

1шт.

8

609132R1

U-BOLT,U, 3/4" - 10 x 14.6"

spring 32 inch clearance

1шт.

280954

NUT,3/4"-10, G5

2шт.

9

1284069C1

PLATE

BLOCK, shank clamping 32 inch clearance, Replaces 592239R1

1шт.

20166R1

BOLT,Hex, 5/8" - 11 x 6", Gr 5

5/8 x 6 type 5

4шт.

280374

NUT,Hex, 5/8" - 11, Gr 5

5/8 type 5

4шт.

Выбрано товаров: 20