Запчасти Case IH 5500 (G-29) - PNEUMATIC GAUGE WHEEL MOUNTING, WING TYPE

Схема запчастей Case IH 5500 - (G-29) - PNEUMATIC GAUGE WHEEL MOUNTING, WING TYPE
FIT
1:1
100%

Артикул

Название

Примечание

Количество

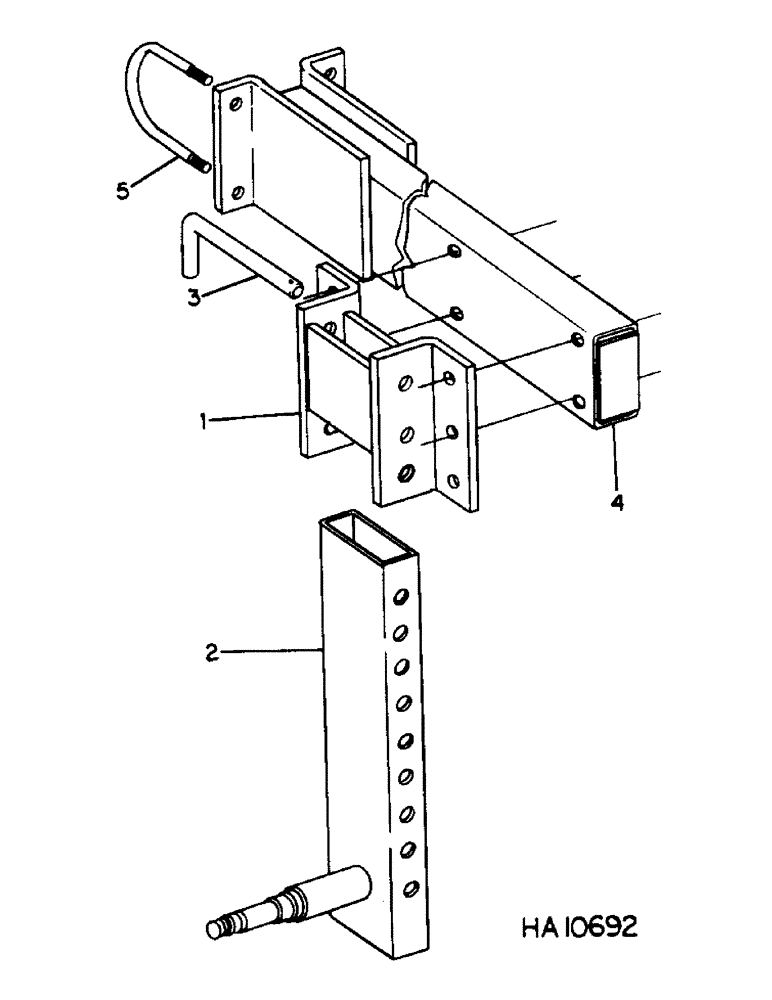
1

1284036C1

SPROCKET ASSY.

SUPPORT ASSY, gauge wheel, Replaces 811945C1

2шт.

271729

BOLT,Hex, 5/8" - 11 x 3 1/2", Gr 5

5/8 x 3-1/2 type 5

8шт.

280374

NUT,Hex, 5/8" - 11, Gr 5

5/8 type 5

8шт.

492-11062

BEARING WASHER,5/8"

WASHER, LOCK, 5/8"

8шт.

2

811542C92

AXLE

ASSY, gauge wheel, Includes 1-369857R1, washer, 1-137204, pin

2шт.

427640

SLOTTED NUT,3/4"-16, G5

NUT, 3/4-NF, slt type 5

2шт.

137204

COTTER PIN,1/8" x 1 1/2"

PIN, SPLIT (COTTER), 1/8" x 1 1/2"

2шт.

369857R1

WASHER,20.7mm ID x 31.75mm OD x 3mm Thk

special

2шт.

3

811951C1

PIN

axle locking

2шт.

591107R1

COTTER PIN

quick-attachable cot

2шт.

4

812341C1

TUBE,645 mm Length

ASSY, gauge wheel support

2шт.

5

608294R1

U-BOLT,U, 5/8" - 11 x 134mm

support mounting

4шт.

280374

NUT,Hex, 5/8" - 11, Gr 5

5/8 type 5

8шт.

492-11062

BEARING WASHER,5/8"

WASHER, LOCK, 5/8"

8шт.

Выбрано товаров: 14