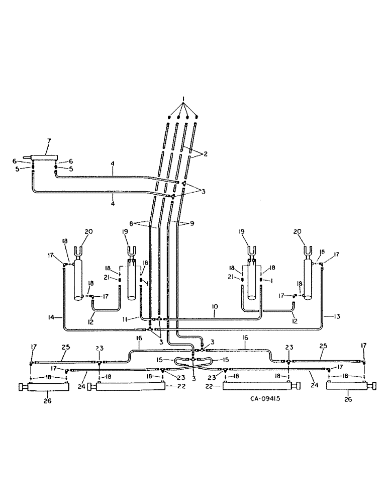
Запчасти Case IH 5500 (G-45) - DEPTH CONTROL AND WING LIFT HYDRAULIC SYSTEM, WING TYPE, 39 FOOT, MACHINES BUILT 1986 AND SINCE

Схема запчастей Case IH 5500 - (G-45) - DEPTH CONTROL AND WING LIFT HYDRAULIC SYSTEM, WING TYPE, 39 FOOT, MACHINES BUILT 1986 AND SINCE
FIT
1:1
100%

Артикул

Название

Примечание

Количество

1

587639R1

HYD CONNECTOR,9/16"-18, 37 Degree x 3/4"-18, O-Ring

CONNECTOR, C-Z hyd fld 3/8 to 1/2 sht

6шт.

2

1284256C1

HYDRAULIC HOSE,9.52 mm ID x 4955.00 mm

Assy - Front 9.52 mm ID x 4955.00 mm

2шт.

3

76355

TEE,9/16" - 18 JIC x 9/16" - 18 JIC x 9/16" - 18 JIC

3/8 C-Z hyd flared three way

6шт.

4

1284278C1

HYDRAULIC HOSE

HOSE ASSY, 1/4 x 41 in. cylinder hydraulic

2шт.

5

9410202

HYD CONNECTOR,9/16"-18, 37 Degree x 9/16"-18, O-Ring

CONNECTOR, 3/8 C-Z hyd fld short

2шт.

6

364839R1

O-RING,0.078" Thk x 0.468" ID, -906, Cl 6, 90 Duro

6-1, 90 Duro, .468" ID x .078" Thk, 3/8 OD tube, class 6

2шт.

7

1286364C91

CYLINDER ASSY.

CYLINDER ASSY, 1.5 x 4 in. double acting transport lock hydraulic Replaces 811998C91, Refer to cyl-1 for components

1шт.

85020C1

SEAL KIT

KIT, o-ring and seal service

1шт.

23171R1

SPLIT PIN/SAFETY PIN

PIN, 1/2 x 3 hd type 5

2шт.

432-1216

COTTER PIN,3/16" x 1"

Pin, Split (Cotter), 3/16" x 1"

2шт.

8

133933C2

HYDRAULIC HOSE

HOSE ASSY, 3/8 x 260 in. hydraulic

2шт.

9

1301350C2

HYDRAULIC HOSE

HOSE ASSY, 3/8 x 120 in. hydraulic

2шт.

10

129671C2

HYDRAULIC HOSE

HOSE ASSY, 3/8 x 105 in. RH, master cylinder pressure

1шт.

11

1284296C1

HYDRAULIC HOSE,9.52 mm ID x 1905.00 mm

Assy - LH master cylinder pressure 9.52 mm ID x 1905.00 mm

1шт.

12

129759C2

HYDRAULIC HOSE

HOSE ASSY, 3/8 x 180 in. master cylinder to slave cylinder

2шт.

13

133933C2

HYDRAULIC HOSE

HOSE ASSY, 3/8 x 260 in. RH, slave cylinder return

1шт.

14

1284257C1

HYDRAULIC HOSE,9.53mm ID x 5335mm L

HOSE ASSY, 3/8 x 210 in. LH, slave cylinder return

1шт.

15

810604C1

HYDRAULIC HOSE

HOSE ASSY, 1/4 x 29 in. wing lift pressure hydraulic

2шт.

16

812382C1

HYDRAULIC HOSE

HOSE ASSY, 1/4 x 50 in. wing lift return hydraulic

2шт.

17

935036R91

ELBOW

C-Z hyd fld adj 1/2 to 3/8 90D

8шт.

18

570828R1

O-RING,0.087" Thk x 0.644" ID, -908, Cl 6, 90 Duro

1/2 OD tube class 6

16шт.

19

149950C92

CYLINDER

ASSY, 4.25 x 8 in. double acting hydraulic, depth control master, Replaces 813526C91, Refer to cyl-1 for components

2шт.

1252009C2

SEAL KIT

o-ring and seal service

1шт.

1263435C91

ADJUSTMENT SCREW

ASSY, L

2шт.

124824

NUT,Hex, 5/16" - 18

5/16 jam type 5

2шт.

810751C1

PIN

1 x 3-1/2 in. std-hd-dld special

4шт.

432-1624

COTTER PIN,1/4" x 1 1/2"

Pin, Split (Cotter), 1/4" x 1 1/2"

4шт.

20

1272485C92

CYLINDER ASSY.

CYLINDER ASSY, 4 x 98 in. double acting hydraulic, depth control wing slave, Replaces 813527C91, Refer to cyl-1 for components

2шт.

20

87423777R

REMAN-HYD CYLINDER

Reman for New PN 1272485C92

2шт.

20

87423777C

CORE-HYD CYLINDER

Return Number

2шт.

80117C2

SEAL KIT

o-ring and service

1шт.

810751C1

PIN

1 x 3-1/2 in. std-hd-dld special

4шт.

432-1624

COTTER PIN,1/4" x 1 1/2"

Pin, Split (Cotter), 1/4" x 1 1/2"

4шт.

21

587639R1

HYD CONNECTOR,9/16"-18, 37 Degree x 3/4"-18, O-Ring

CONNECTOR, C-Z hyd fld 3/8 to 1/2 sht, Required for cylinder, 149950C92

1шт.

21

935036R91

ELBOW

C-Z hyd fld adj 1/2 to 3/8 90D, Required for cylinder 813526C91

2шт.

22

224795C91

CYLINDER

ASSY, 4 x 34 in. double acting wing lift hydraulic, Replaces 810662C91, Refer to cyl-1 for components

2шт.

1272883C1

KIT

o-ring and seal service

1шт.

811962C1

PIN

cylinder rod mounting

2шт.

810751C1

PIN

cylinder base mounting

2шт.

614451R1

WASHER

1.031 x 1.750 x .105

8шт.

432-1624

COTTER PIN,1/4" x 1 1/2"

Pin, Split (Cotter), 1/4" x 1 1/2"

6шт.

M73125

SPACER,1" Pipe x 3/8"

1 x .375 in. standard pipe

4шт.

23

1284157C1

TEE,9/16"-18, 37 Degree x 3/4"-16, O-Ring Br

hydraulic flared tube adjustable

4шт.

24

810601C1

HYDRAULIC HOSE,9.53mm ID x 4191mm L

HOSE ASSY, 1/4 x 165 in. extension lift cylinder hydraulic

2шт.

25

147779C1

HYDRAULIC HOSE

HOSE ASSY, 1/4 x 145 in. extension lift cylinder hydraulic

2шт.

26

224787C91

CYLINDER ASSY.

CYLINDER ASSY, 3.5 x 18 in. double acting hydraulic, wing lift, Replaces 810383C91, Refer to cyl-1 for components

2шт.

84919C2

GASKET KIT

KIT, o-ring and seal service

1шт.

810751C1

PIN

cylinder mounting

2шт.

432-1624

COTTER PIN,1/4" x 1 1/2"

Pin, Split (Cotter), 1/4" x 1 1/2"

12шт.

129083R1

CLAMP

.625 dia znp coated med clo, hydraulic hose

18шт.

495967R1

CARRIAGE BOLT,Short NK, 3/8"-16 x 1", G5, Full Thd

BOLT, 3/8 x 1 crg type 5

10шт.

120382

LOCK WASHER,Helical Spring, 3/8"

WASHER, LOCK, 3/8"

10шт.

120377

NUT,3/8" - 16, Gr 5

10шт.

306132C1

CABLE TIE,14.5" L

STRAP, hydraulic hose tie

8шт.

Выбрано товаров: 54