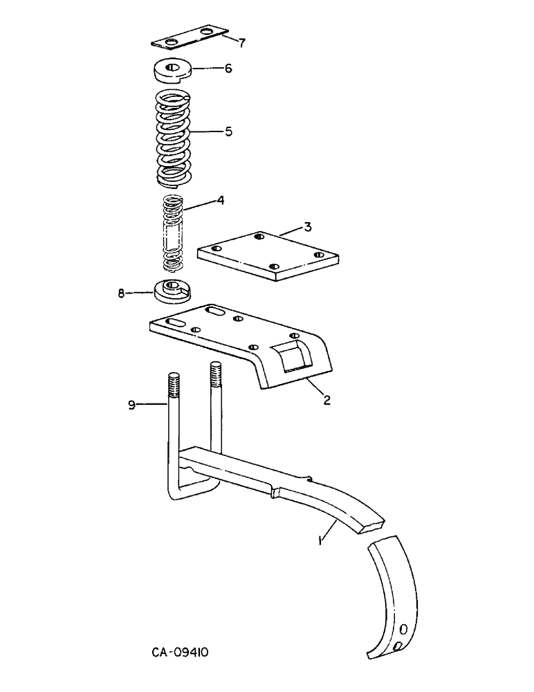
Запчасти Case IH 5500 (A-03) - GROUND WORKING TOOLS AND SHANKS, CUSHION CLAMP AND SHANK, HIGH LIFT REGULAR CLEARANCE SHANK

Схема запчастей Case IH 5500 - (A-03) - GROUND WORKING TOOLS AND SHANKS, CUSHION CLAMP AND SHANK, HIGH LIFT REGULAR CLEARANCE SHANK
FIT
1:1
100%

Артикул

Название

Примечание

Количество

1

1284066C1

SHANK

1-1/4 x 2 x 26 in tooth

1шт.

2

1284067C1

SUPPORT

BRACKET, clamping

1шт.

20166R1

BOLT,Hex, 5/8" - 11 x 6", Gr 5

5/8 x 6 znd type 5

4шт.

492-11062

BEARING WASHER,5/8"

WASHER, LOCK, 5/8"

4шт.

280374

NUT,Hex, 5/8" - 11, Gr 5

5/8 type 5

4шт.

3

1284069C1

PLATE

shank clamping

1шт.

4

1284061C1

SPRING

inner cushion

2шт.

Ref #4 - (13.46") 08/19/96

1шт.

5

1284060C1

SPRING

outer cushion

2шт.

Ref #5 - (15.25") 08/19/96

1шт.

6

608348R1

RETAINER

spring upper (Replaces 609348R1)

2шт.

7

591755R1

STRIP

BAR, spring tie

1шт.

8

608349R21

RETAINER

PACKAGE, spring lower seat service, Consists of two lower seats

1шт.

9

1284062C1

U-BOLT,3/4" - 10 x 62mm W x 462mm L

spring

1шт.

280954

NUT,3/4"-10, G5

2шт.

Выбрано товаров: 15