Запчасти Case IH 5500 (D-09) - WING LIFT HYDRAULIC SYSTEM, SINGLE WING, MACHINES BUILT 1980 THROUGH 1985

Схема запчастей Case IH 5500 - (D-09) - WING LIFT HYDRAULIC SYSTEM, SINGLE WING, MACHINES BUILT 1980 THROUGH 1985
FIT
1:1
100%

Артикул

Название

Примечание

Количество

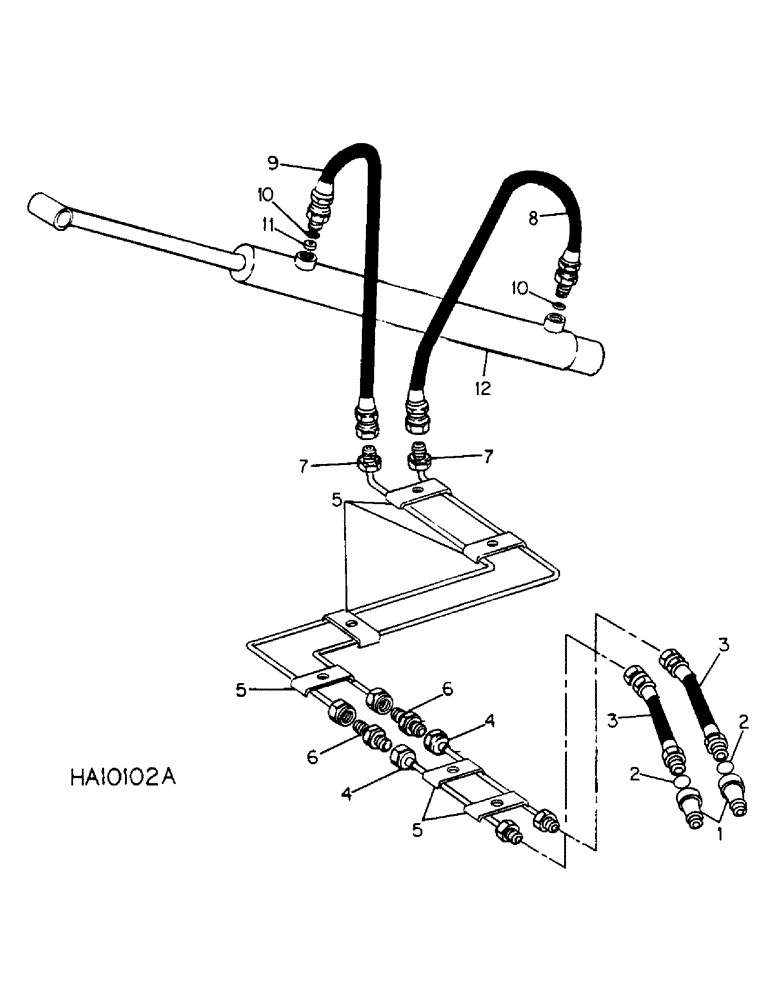
1

COUPLER, male hose, Refer to hydraulic couplers unit for details

1шт.

2

O-RING, male hose coupler, Refer to hydraulic couplers unit for details

1шт.

3

168132C2

HYDRAULIC HOSE,12.70 mm ID x 1650.00 mm

- Front, Replaces 599679R1 by also ordering connector, 481352R1 12.70 mm ID x 1650.00 mm

2шт.

4

1254574C2

HYDRAULIC HOSE

HOSE ASSY, 3/8 x 60 in. hydraulic front, Replaces tube, 813514C1 by also ordering connector, 1284305C1

6шт.

5

614323R2

CLAMP

hydraulic tube

6шт.

86505867

BOLT,Hex, 1/4" - 20 x 1", Gr 5

2шт.

180081

BOLT,Hex, 5/16"-18 x 1 1/4", G5

3шт.

120375

NUT,Hex, 1/4" - 20, Gr 5

2шт.

120376

NUT,5/16"-18, G5

4шт.

492-11025

LOCK WASHER,1/4"

WASHER, LOCK, 1/4"

2шт.

80681

LOCK WASHER,5/16"

WASHER, LOCK, 5/16"

4шт.

6

9402786

UNION,9/16"-18, 37 Degree x 9/16"-18, 37 Degree

9/16-18 hyd 37 deg flared

2шт.

7

812381C2

HYDRAULIC HOSE

HOSE ASSY, 3/8 x 115 in. hydraulic wing lift, Replaces tube, 813531C1 by also ordering union, 9402986

2шт.

8

393704R92

HYDRAULIC HOSE

HOSE ASSY, 3/8 x 31 in. wing lift cylinder return, Replaces 813534C1 by also ordering connector, 587639R1

1шт.

9

393704R92

HYDRAULIC HOSE

HOSE ASSY, 3/8 x 31 in. wing lift cylinder pressure, Replaces 813604R1 by also ordering connector, 587639R1

1шт.

10

570828R1

O-RING,0.087" Thk x 0.644" ID, -908, Cl 6, 90 Duro

wing lift hyd hose

2шт.

11

811912C1

WASHER

flow retarder disk

1шт.

12

1286311C91

CYLINDER ASSY.

CYLINDER ASSY, 2-1/2 x 34 in. double acting hydraulic, wing lift, Replaces 811888C91, Refer to cyl-1 for components

1шт.

85023C1

KIT

o-ring and seal service

1шт.

936587R91

PIN

ASSY, connecting bar

2шт.

432-1640

COTTER PIN,1/4" x 2 1/2"

Pin, Split (Cotter), 1/4" x 2 1/2"

2шт.

Выбрано товаров: 0