Запчасти Case IH 5500 (F-17) - DEPTH CONTROL ROCKSHAFT, WING TYPE, MACHINES WITH AXLE PIVOT THROUGH AXLE TUBE

Схема запчастей Case IH 5500 - (F-17) - DEPTH CONTROL ROCKSHAFT, WING TYPE, MACHINES WITH AXLE PIVOT THROUGH AXLE TUBE
FIT
1:1
100%

Артикул

Название

Примечание

Количество

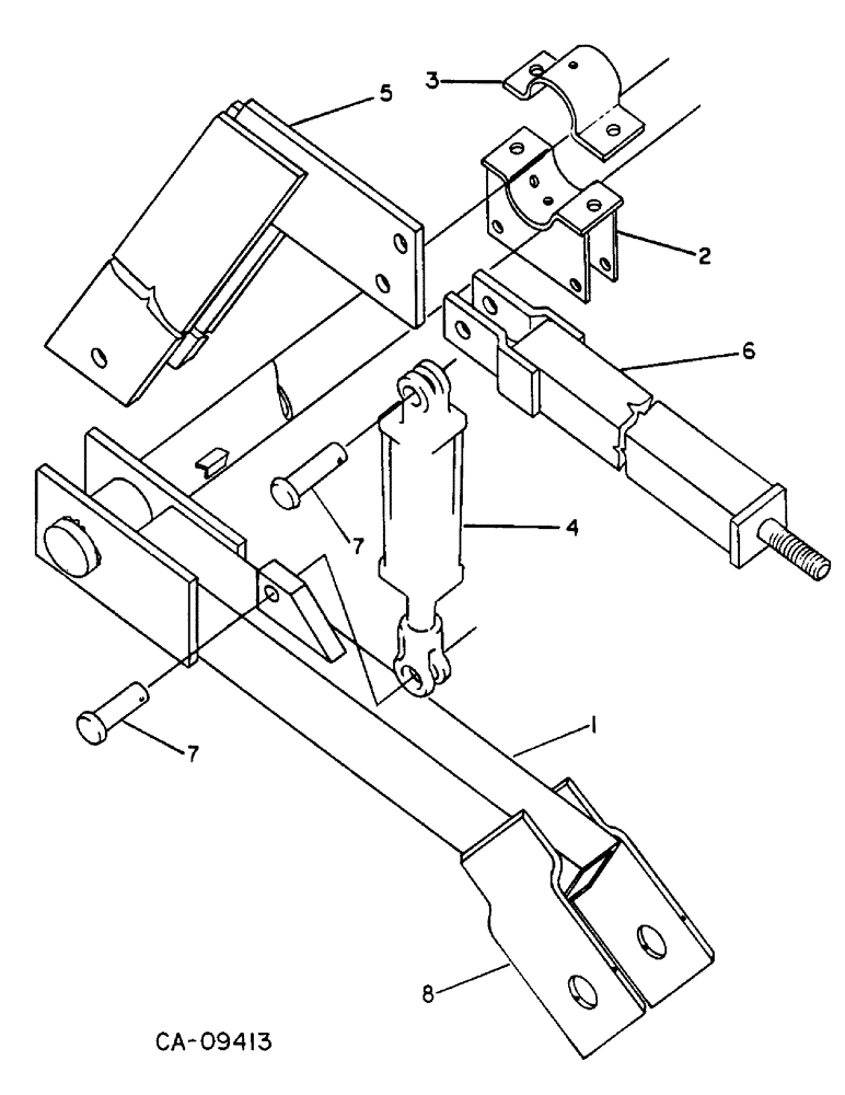
1

1284044C1

SHAFT ASSY.

ROCKSHAFT ASSY, 25 in. clearance

1шт.

1

1284047C1

ROCKSHAFT

ASSY, 32 in. high clearance

1шт.

2

810645C1

SUPPORT

ASSY, rockshaft

4шт.

271729

BOLT,Hex, 5/8" - 11 x 3 1/2", Gr 5

5/8 x 3-1/2 znd type 5

8шт.

280374

NUT,Hex, 5/8" - 11, Gr 5

5/8 type 5

8шт.

3

810179C1

CLAMP

rockshaft

4шт.

19628R91

NIPPLE, LUBE

FITITNG, 1/8 pipe thd 45D lub

4шт.

271548

BOLT (SPREADER),Hex, 5/8" - 11 x 1 3/4", Gr 5

BOLT, 5/8 x 1-3/4 znd type 5

8шт.

492-11062

BEARING WASHER,5/8"

WASHER, LOCK, 5/8"

8шт.

280374

NUT,Hex, 5/8" - 11, Gr 5

5/8 type 5

8шт.

4

149950C92

CYLINDER

ASSY, 4.25 x 8 in. double acting hydraulic, depth control master, Replaces 813526C91, Refer to cyl-1 for components

2шт.

1252009C2

SEAL KIT

o-ring and seal service

1шт.

1263435C91

ADJUSTMENT SCREW

ASSY, L

2шт.

124824

NUT,Hex, 5/16" - 18

5/16 jam type 5

2шт.

5

810103C1

BRACE

ASSY, main frame cyl support

2шт.

413-1648

BOLT,Hex, 1" - 8 x 3", Gr 5

1 x 3 znd type 5

2шт.

9849633

NUT,1"-8, G5

2шт.

6

813687C2

ROD

ASSY, cylinder support truss

2шт.

9849633

NUT,1"-8, G5

4шт.

27257R1

HEADED PIN,1" x 3"

PIN, 1 x 3 hd type 5, truss rod to cyl support brace

2шт.

432-1624

COTTER PIN,1/4" x 1 1/2"

Pin, Split (Cotter), 1/4" x 1 1/2"

2шт.

7

810751C1

PIN

1 x 3-1/2 pln cot

4шт.

432-1624

COTTER PIN,1/4" x 1 1/2"

Pin, Split (Cotter), 1/4" x 1 1/2"

4шт.

8

1284022C1

LARGE PLATE

PLATE, rockshaft pivot

4шт.

Выбрано товаров: 24