Запчасти Case IH 5700 (9-114) - SECONDARY WING LIFT HINGES - FRONT, LEVEL LIFT MODELS, DOUBLE FOLD, 41 FOOT WIDE (18) - MISCELLANEOUS

Схема запчастей Case IH 5700 - (9-114) - SECONDARY WING LIFT HINGES - FRONT, LEVEL LIFT MODELS, DOUBLE FOLD, 41 FOOT WIDE (18) - MISCELLANEOUS
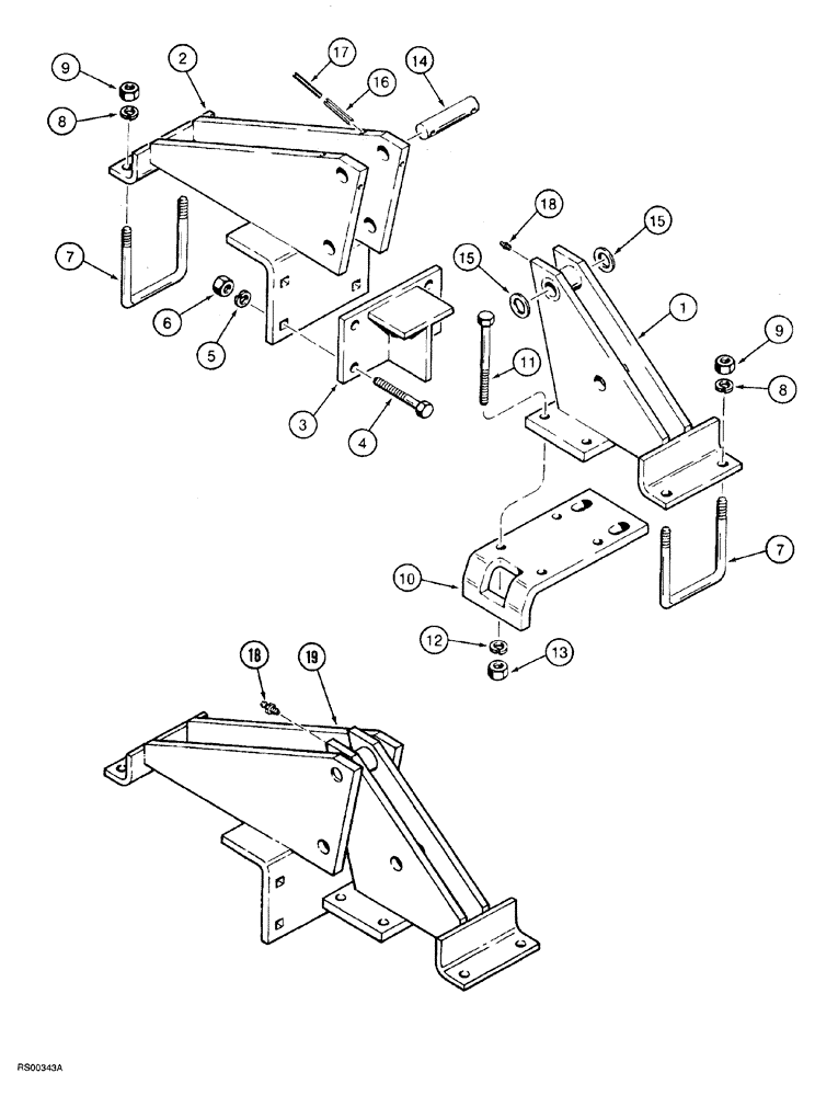
1
14
10
8
15
18
4
13
18
16
6
9
3
12
2
11
19
15
7
7
5
17
9
8
FIT
1:1
100%

Артикул

Название

Примечание

Количество

1

1284372C1

HINGE

SPARE PART wing frame, outer (Order hinge assembly 1980892C1)

2шт.

2

1284370C1

HINGE

SPARE PART wing frame, inner (Order hinge assembly 1980892C1)

2шт.

3

812373C1

STOP

frame

2шт.

4

413-1060

BOLT,Hex, 5/8" - 11 x 3-3/4", Gr 5

BOLT hex, 5/8 NC x 3-3/4 inch

8шт.

5

492-11062

BEARING WASHER,5/8"

8шт.

6

425-1010

NUT,5/8"-11, G5

8шт.

7

608294R1

U-BOLT,U, 5/8" - 11 x 134mm

BOLT "U" 5/8 inch NC, x 5-1/4 inch long, if used

1шт.

7

597023R1

BOLT,U, 5/8" - 11 x 7.50"

U, 5/8 inch NC, x 7-1/2 inch long, if used

1шт.

8

492-11062

BEARING WASHER,5/8"

8шт.

9

425-1010

NUT,5/8"-11, G5

8шт.

10

1284067C1

SUPPORT

BRACKET shank clamping

2шт.

11

413-1096

BOLT,Hex, 5/8" - 11 x 6", Gr 5

hex, 5/8 NC x 6 inch

8шт.

12

492-11062

BEARING WASHER,5/8"

8шт.

13

425-1010

NUT,5/8"-11, G5

8шт.

14

1284375C2

PIN

hinge pivot

2шт.

15

396-11106

WASHER,1 1/16" x 2" x .134", HDN

flat, 1-1/16 x 2 x 1/8 inch, hardened

4шт.

16

438-12040

LOCK PIN,5/16" x 2 1/2", Slotted

5/16" x 2 1/2", Slotted

4шт.

17

438-11240

LOCK PIN,3/16" x 2 1/2", Slotted

3/16" x 2 1/2", Slotted

4шт.

18

219-87

LUBE NIPPLE,1/4" - 28 NPTF

2шт.

19

1980892C1

HINGE

ASSEMBLY, wing frame

2шт.

Выбрано товаров: 20