Запчасти Case IH 5700 (9-146) - THREE POINT HITCH, DIRECT MOUNTED MODELS, THREE RANK (18) - MISCELLANEOUS

Схема запчастей Case IH 5700 - (9-146) - THREE POINT HITCH, DIRECT MOUNTED MODELS, THREE RANK (18) - MISCELLANEOUS
20
17
19
14
3
1
2
11
7
15
12
18
16
4
20
2
9
6
8
5
17
20
13
9
10
FIT
1:1
100%

Артикул

Название

Примечание

Количество

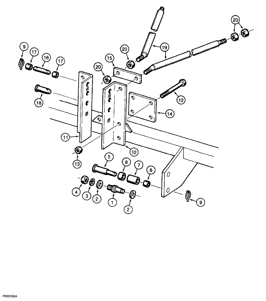
1

472790R2

STUD

PIN hitch, outer

2шт.

2

495-81192

WASHER,1.16" ID x 2" OD x 0.12" Thk

flat, 1-5/32 x 2 x 7/64 inch

4шт.

3

492-11112

LOCK WASHER,1 1/8"

1 1/8"

2шт.

4

425-1118

NUT,1 1/8"-12, G5

hex, 1-1/8 inch NF

2шт.

5

599799R1

PIN

hitch, outer

2шт.

6

599800R1

BUSHING

hitch pin

2шт.

7

599801R1

SPACER

pin, inner

2шт.

8

599802R1

SPACER

pin, outer

2шт.

9

392181R1

SPLIT PIN/SAFETY PIN,11.13mm OD

click

3-4шт.

10

812002C2

ANGLE

BRACKET hitch mounting, left hand

1шт.

11

812011C2

ANGLE

BRACKET hitch mounting, right hand

1шт.

12

413-1296

BOLT,Hex, 3/4" - 10 x 6", Gr 5

hex, 3/4 NC x 6 inch

4шт.

13

425-1012

NUT,3/4"-10, G5

hex, 3/4 inch NC

4шт.

14

812007C1

BAR

PLATE hitch mounting bracket support

1шт.

15

812024C1

BAR

PLATE truss rod mounting

1шт.

16

599803R1

PIN

hitch, center, for 7 foot and 13 foot wide frame models with category 2 hitch and no quick coupler, if used

1шт.

17

599804R1

BUSHING

center hitch pin, if used

2шт.

18

392211R2

PIN

center, for 7 foot and 13 foot wide frame models with category 3 hitch and no quick coupler, if used

1шт.

19

812015C2

ROD

truss, three point hitch

2шт.

20

425-1016

NUT,1"-8, G5

Hex

8шт.

Выбрано товаров: 20