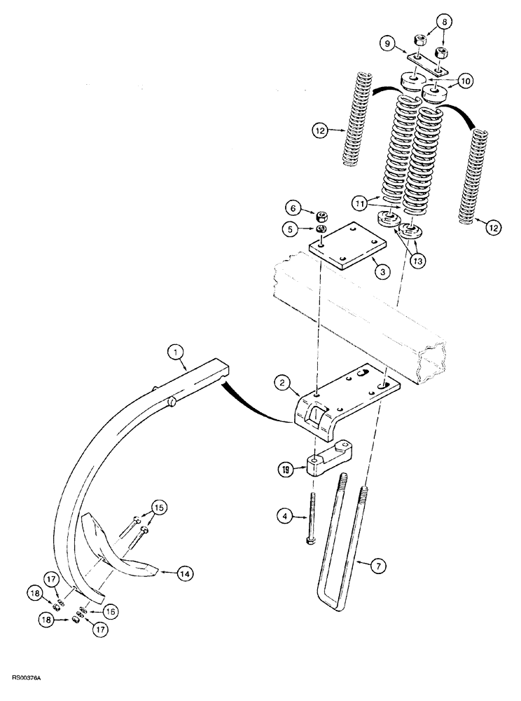
Запчасти Case IH 5700 (9-180) - CUSHION CLAMP AND SHANK, REGULAR CLEARANCE - 26" (18) - MISCELLANEOUS

Схема запчастей Case IH 5700 - (9-180) - CUSHION CLAMP AND SHANK, REGULAR CLEARANCE - 26" (18) - MISCELLANEOUS
19
16
18
5
3
6
18
2
17
12
17
1
7
4
8
15
14
10
11
12
9
13
FIT
1:1
100%

Артикул

Название

Примечание

Количество

1

1284066C1

SHANK

ground working tool, 1-1/4 (32) x 2 (51) x 26 inch (660 mm)

1шт.

2

1284067C1

SUPPORT

BRACKET shank clamping

1шт.

3

1284069C1

PLATE

PLATE clamping

1шт.

4

426-10128

BOLT,Hex, 5/8" - 11 x 8", Gr 8

BOLT hex, 5/8 NC x 8 inch, grade 8, if used

1шт.

4

426-10168

BOLT,Hex, 5/8" - 11 x 10-1/2", Gr 8

BOLT hex, 5/8 NC x 10-1/2 inch, grade 8, if used

1шт.

5

492-11062

BEARING WASHER,5/8"

1шт.

6

425-1010

NUT,5/8"-11, G5

1шт.

7

1284062C2

U-BOLT,3/4" - 10 x 62mm W x 462mm L

cushion spring

1шт.

8

425-1012

NUT,3/4"-10, G5

hex, 3/4 inch NC

1шт.

9

591755R2

STRIP

BAR spring tie

1шт.

10

608348R1

RETAINER

spring

1шт.

11

1284060C1

SPRING

cushion, outer

1шт.

12

1284061C2

SPRING

cushion, inner

1шт.

13

608349R2

RETAINER

SEAT spring

1шт.

14

REF

INSTRUCTION

POINT, 2" (51 mm) reversible chisel (See Fig. 9-190)

1шт.

15

419-3840

CARRIAGE BOLT,#3, 1/2" - 13 x 2 1/2", Gr 5

BOLT plow, 1/2 NC x 2-1/2 inch

1шт.

16

495-81287

WASHER,13.49mm ID x 31.75mm OD x 3.4mm Thk

flat, 17/32 x 1-1/4 x 7/64 inch

1шт.

17

80679

LOCK WASHER,1/20.507 CST ZND

1шт.

18

425-108

NUT,1/2" - 13, Gr 5

1шт.

19

1995500C1

BLOCK

adjustment, if used

1шт.

Выбрано товаров: 0