Запчасти Case IH 5700 (9-188) - RIGID CLAMP AND SHANK, HIGH CLEARANCE - 32" (18) - MISCELLANEOUS

Схема запчастей Case IH 5700 - (9-188) - RIGID CLAMP AND SHANK, HIGH CLEARANCE - 32" (18) - MISCELLANEOUS
5
10
3
12
7
2
9
4
1
8
7
6
13
13
11
12
FIT
1:1
100%

Артикул

Название

Примечание

Количество

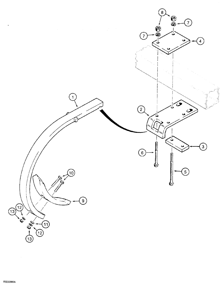
1

97738C1

SHANK

ground working tool, 1-1/4 (32) x 2 (51) x 32 inch (813 mm)

1шт.

2

1284067C1

SUPPORT

BRACKET shank clamping

1шт.

3

1976568C1

BAR

BLOCK shank clamping

1шт.

4

1284069C1

PLATE

clamping

1шт.

5

426-10128

BOLT,Hex, 5/8" - 11 x 8", Gr 8

BOLT hex, 5/8 NC x 8 inch, grade 8, if used

1шт.

5

21692R1

BOLT,Hex, 5/8" - 11 x 10", Gr 5

hex, 5/8 NC x 10 inch, if used

1шт.

6

413-1096

BOLT,Hex, 5/8" - 11 x 6", Gr 5

hex, 5/8 NC x 6 inch, if used

1шт.

6

19827R1

BOLT,Hex, 5/8" - 11 x 8", Gr 5

hex, 5/8 NC x 8 inch, if used

1шт.

7

492-11062

BEARING WASHER,5/8"

1шт.

8

425-1010

NUT,5/8"-11, G5

1шт.

9

REF

INSTRUCTION

POINT, 2" (51 mm) reversible chisel (See Fig. 9-190)

1шт.

10

419-3840

CARRIAGE BOLT,#3, 1/2" - 13 x 2 1/2", Gr 5

BOLT plow, 1/2 NC x 2-1/2 inch

1шт.

11

495-81287

WASHER,13.49mm ID x 31.75mm OD x 3.4mm Thk

flat, 17/32 x 1-1/4 x 7/64 inch

1шт.

12

80679

LOCK WASHER,1/20.507 CST ZND

1шт.

13

425-108

NUT,1/2" - 13, Gr 5

1шт.

Выбрано товаров: 15