Запчасти Case IH 5700 (9-022) - CENTER AXLE, SINGLE WING MODELS (18) - MISCELLANEOUS

Схема запчастей Case IH 5700 - (9-022) - CENTER AXLE, SINGLE WING MODELS (18) - MISCELLANEOUS
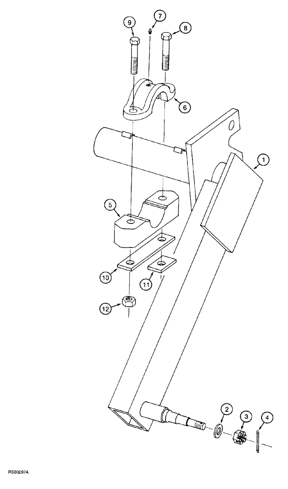
2
8
11
3
10
5
12
1
7
4
6
9
FIT
1:1
100%

Артикул

Название

Примечание

Количество

811059C91

AXLE

SPARE PART ASSEMBLY, center, used on 5600 single wing chisel plows

1шт.

811060C91

AXLE

SPARE PART ASSEMBLY, center, used on 5700 single wing chisel plows

1шт.

1

NSS

NOT SOLD SEPARAT

AXLE center, used on 5600 single wing chisel plows

1шт.

1

NSS

NOT SOLD SEPARAT

AXLE center, used on 5700 single wing chisel plows

1шт.

2

23071R1

WASHER

flat, 29/32 x 2 x 5/32 inch, special

1шт.

3

70120D

SLOTTED NUT,7/8"-14

hex, slotted, special, 7/8 inch NC

1шт.

5

811856C2

CAP

CLAMP axle, lower

2шт.

6

605664R1

CAP

CLAMP axle, upper

2шт.

7

219-1

LUBE NIPPLE,1/8" - 27 NPTF

2шт.

8

13-12224

BOLT,Hex, 3/4" - 10 x 14", Gr 5

2шт.

9

413-12176

BOLT,3/4"-10 x 11", Gr 5

BOLT hex, 3/4 NC x 11 inch

2шт.

10

811861C1

BAR

PLATE spacer, long

2шт.

11

811897C1

BAR

PLATE spacer, short

2шт.

12

425-1012

NUT,3/4"-10, G5

hex, 3/4 inch NC

1шт.

4

132-56

COTTER PIN,Ext Prong Sq Cut, 1/8" x 2"

1шт.

Выбрано товаров: 0