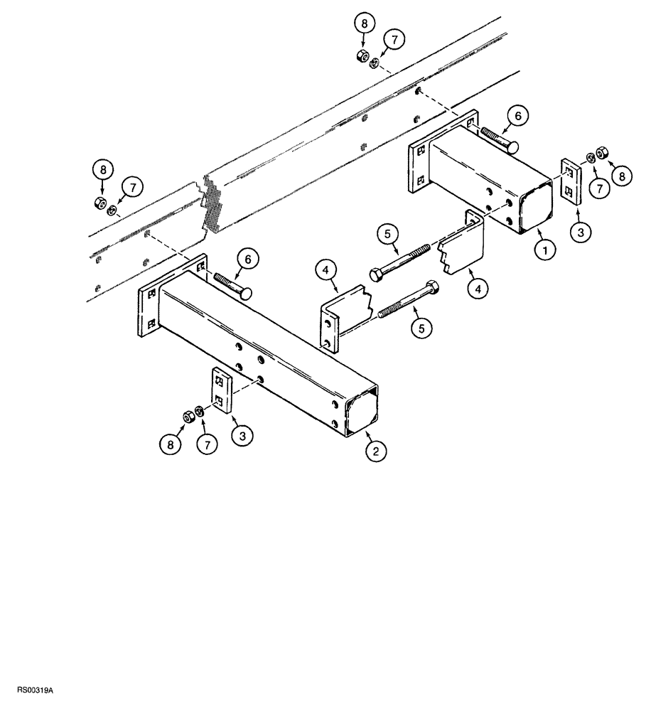
Запчасти Case IH 5700 (9-066) - FRAME EXTENSIONS, LEVEL LIFT MODELS, FLAT FOLD, 17 FOOT THROUGH 27 FOOT WIDE (18) - MISCELLANEOUS

Схема запчастей Case IH 5700 - (9-066) - FRAME EXTENSIONS, LEVEL LIFT MODELS, FLAT FOLD, 17 FOOT THROUGH 27 FOOT WIDE (18) - MISCELLANEOUS
3
4
8
7
7
7
3
2
5
7
1
4
5
8
8
6
8
6
FIT
1:1
100%

Артикул

Название

Примечание

Количество

1

91384C1

TUBE

EXTENSION frame, 12 inch (305 mm) long

2шт.

2

91386C1

EXTENSION

frame, 24 inch (610 mm) long

2шт.

3

608339R1

BLOCK

BRACKET brace mounting

4шт.

4

608338R1

STRAP

BRACE frame extension

2шт.

5

413-1096

BOLT,Hex, 5/8" - 11 x 6", Gr 5

hex, 5/8 NC x 6 inch

8шт.

6

133-3

CARRIAGE BOLT,Short Nk, 5/8" - 11 x 3 1/4", Gr 5

16шт.

7

492-11062

BEARING WASHER,5/8"

24шт.

8

425-1010

NUT,5/8"-11, G5

24шт.

Выбрано товаров: 8