Запчасти Case IH 5700 (9-070) - WING FRAME DEPTH CONTROL, NON LEVEL LIFT MODELS, SINGLE FOLD, 25 FOOT THROUGH 31 FOOT FOOT WIDE (18) - MISCELLANEOUS

Схема запчастей Case IH 5700 - (9-070) - WING FRAME DEPTH CONTROL, NON LEVEL LIFT MODELS, SINGLE FOLD, 25 FOOT THROUGH 31 FOOT FOOT WIDE (18) - MISCELLANEOUS
9
7
5
2
3
1
8
6
6
4
9
8
FIT
1:1
100%

Артикул

Название

Примечание

Количество

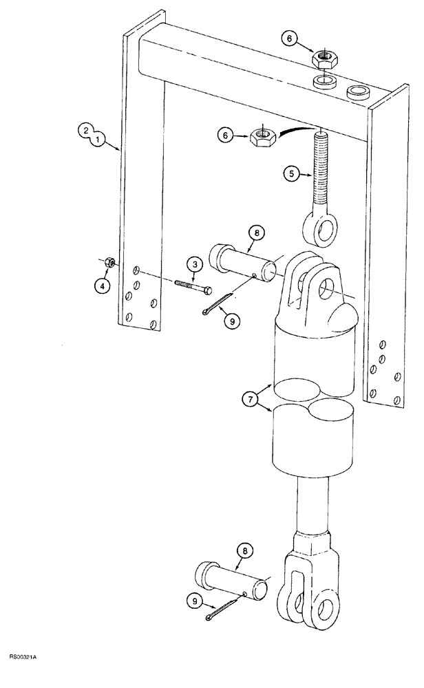
1

810116C1

SUPPORT

wing frame depth control, left hand

1шт.

2

810117C1

SUPPORT

SPARE PART wing frame depth control, right hand

1шт.

3

413-848

BOLT,Hex, 1/2" - 13 x 3", Gr 5

hex, 1/2 NC x 3 inch

12шт.

4

425-108

NUT,1/2" - 13, Gr 5

12шт.

5

813200C1

BOLT,7/8" - 9 x 7.50"

eye, 7/8 NC x 7-1/2 inch, depth control cylinder

2шт.

6

425-1014

NUT,7/8"-9, G5

4шт.

7

1272485C92

CYLINDER ASSY.

4 (102) ID x 8 inch (203 mm) stroke (See Fig. 8-48)

2шт.

8

810751C1

PIN

1 x 3-1/2 inch long, cylinder retaining

4шт.

9

432-1624

COTTER PIN,1/4" x 1 1/2"

4шт.

Выбрано товаров: 9