Запчасти Case IH 5800 (4-06) - WIRING HARNESS AND LAMP MOUNTING, VERTICAL FOLD AND DOUBLE (04) - ELECTRICAL SYSTEMS

Схема запчастей Case IH 5800 - (4-06) - WIRING HARNESS AND LAMP MOUNTING, VERTICAL FOLD AND DOUBLE (04) - ELECTRICAL SYSTEMS
26
27
8
26
1
12
14
10
1
16
13
11
3
10
1
1
6
4
5
27
9
2
10
24
17
12
13
25
15
5
13
12
12
25
23
1
6
4
7
13
FIT
1:1
100%

Артикул

Название

Примечание

Количество

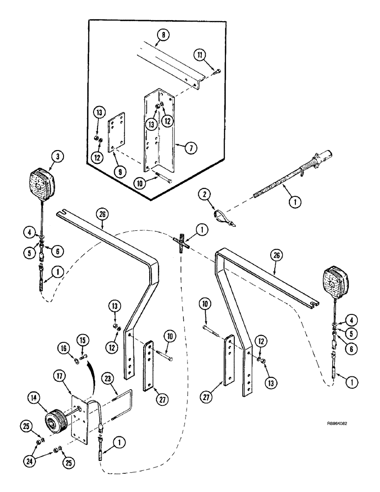
1

1969327C1

HARNESS

- wiring

1шт.

2

386170C1

CABLE TIE,.30" x 27 1/2"

STRAP - tie

14шт.

3

91913C91

LIGHT

LAMP ASSEMBLY - turn signal (See Page 4-9)

2шт.

4

495-81287

WASHER,13.49mm ID x 31.75mm OD x 3.4mm Thk

- flat, 17/32 x 1-1/4 x 7/64 inch

2шт.

5

80679

LOCK WASHER,1/20.507 CST ZND

WASHER, LOCK, 1/2"

2шт.

6

425-118

NUT,1/2"-20, G5

- hex, 1/2 inch NF

2шт.

7

1969260C1

ANGLE

SUPPORT - turn signal lamp

2шт.

8

1969261C1

ANGLE

BRACKET - turn signal lamp mounting

2шт.

9

1969263C1

LARGE PLATE

PLATE - mounting

2шт.

10

413-856

BOLT,Hex, 1/2" - 13 x 3-1/2", Gr 5

- hex, 1/2 NC x 3-1/2 inch

1шт.

10

413-820

BOLT,Hex, 1/2" - 13 x 1-1/4", Gr 5

1шт.

12

80679

LOCK WASHER,1/20.507 CST ZND

WASHER, LOCK, 1/2"

1шт.

16

493-81000

LOCK WASHER,Ext-Int Tooth, #10

WASHER, LOCK, (3/16") Ext-Int Tooth, #10

2шт.

13

425-108

NUT,1/2" - 13, Gr 5

NUT, , Hex 1/2"-13, G5

1шт.

14

91986C91

LIGHT

LAMP ASSEMBLY - tail (See Page 4-11)

2шт.

15

261-14512

SELF-TAP SCREW,Cross Pan Hd, #10 x 3/4"

SCREW - self-tapping, pan Phillips, No. 10 NC x 3/4 inch

2шт.

17

1969262C2

LARGE PLATE

PLATE - tail lamp mounting

2шт.

23

810099C1

BOLT,U, 1/4" - 20 x 4.75"

U-BOLT - mounting bar

1шт.

24

425-104

NUT,1/4"-20, Cl 5

2шт.

25

492-11025

LOCK WASHER,1/4"

WASHER, LOCK, 1/4"

2шт.

26

223948A1

SUPPORT

BRACKET - turn signal lamp mounting

2шт.

27

1995522C2

BAR

PLATE - mounting

2шт.

Выбрано товаров: 22