Запчасти Case IH 5850 (09-40) - FRONT AND REAR WING LIFT HINGES AND CYLINDER MOUNTING, VERTICAL FOLD, 29 FOOT THROUGH 35 FOOT WIDE (09) - CHASSIS

Схема запчастей Case IH 5850 - (09-40) - FRONT AND REAR WING LIFT HINGES AND CYLINDER MOUNTING, VERTICAL FOLD, 29 FOOT THROUGH 35 FOOT WIDE (09) - CHASSIS
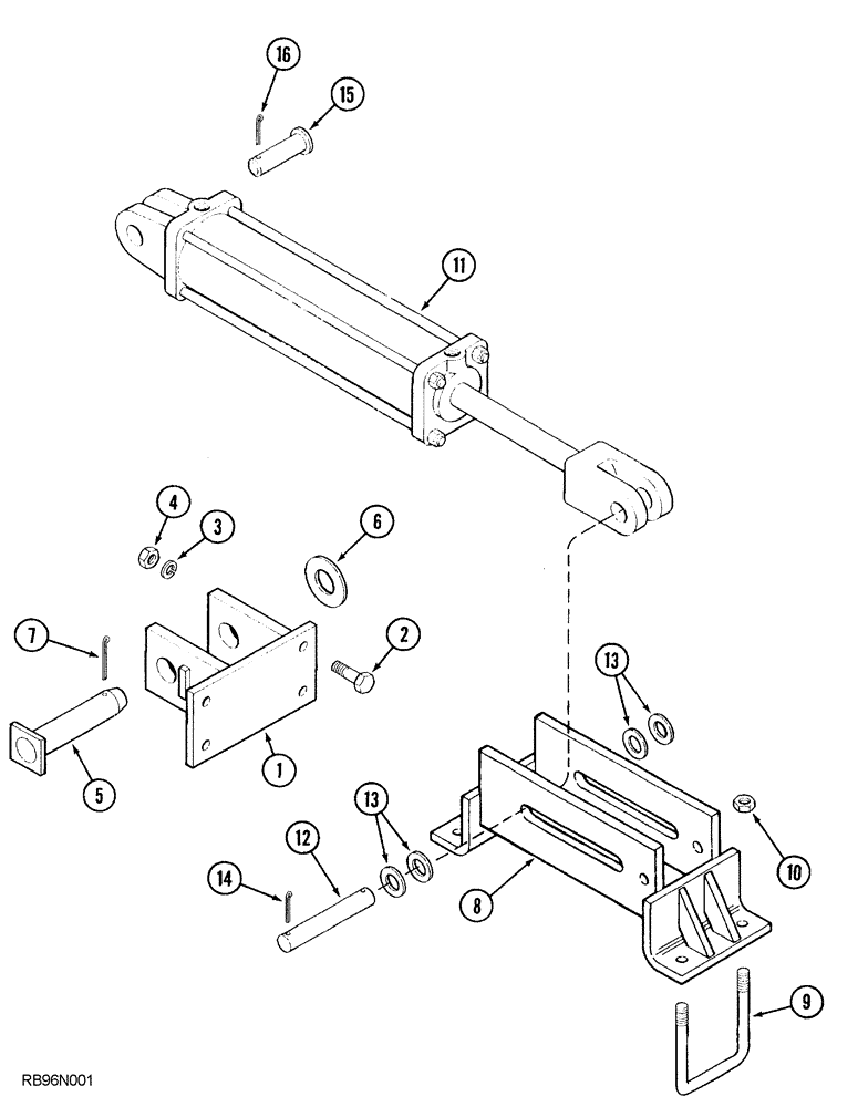
5
11
1
13
14
4
15
8
12
13
7
2
9
3
10
6
16
FIT
1:1
100%

Артикул

Название

Примечание

Количество

1

137148A1

HINGE

wing lift

4шт.

2

413-1032

BOLT,Hex, 5/8" - 11 x 2", Gr 5

16шт.

3

492-11062

BEARING WASHER,5/8"

16шт.

4

425-1010

NUT,5/8"-11, G5

16шт.

5

811965C2

PIN

hinge pivot

4шт.

6

495-11162

WASHER,1 1/2" x 3" x .165"

flat, 1-5/8" x 3" x 5/32"

4шт.

7

432-2040

COTTER PIN,5/16" x 2 1/2"

5/16" x 2 1/2"

4шт.

8

141090A2

SUPPORT

wing lift

2шт.

9

608294R1

U-BOLT,U, 5/8" - 11 x 134mm

BOLT "U" 5/8" NC

4шт.

10

231-42110

LOCK NUT,Hex, 5/8"-11, GB

8шт.

11

1285753C94

CYLINDER

ASSEMBLY, 89 mm/3-1/2" ID x 864 mm/34" stroke, see Figure 08-34

2шт.

12

813192C1

PIN

pivot

2шт.

13

495-81074

WASHER,1 1/32" x 1 3/4" x .120"

Flat

8шт.

14

432-1224

COTTER PIN,3/16" x 1-1/2"

4шт.

15

810751C1

PIN

1" x 3-1/2"

2шт.

16

432-1624

COTTER PIN,1/4" x 1 1/2"

2шт.

Выбрано товаров: 16