Запчасти Case IH 5850 (09-52) - PRIMARY WING STOP, DOUBLE FOLD, 43 FOOT THROUGH 53 FOOT WIDE (09) - CHASSIS

Схема запчастей Case IH 5850 - (09-52) - PRIMARY WING STOP, DOUBLE FOLD, 43 FOOT THROUGH 53 FOOT WIDE (09) - CHASSIS
6
4
7
5
10
13
17
11
15
1
18
14
9
8
12
16
2
3
FIT
1:1
100%

Артикул

Название

Примечание

Количество

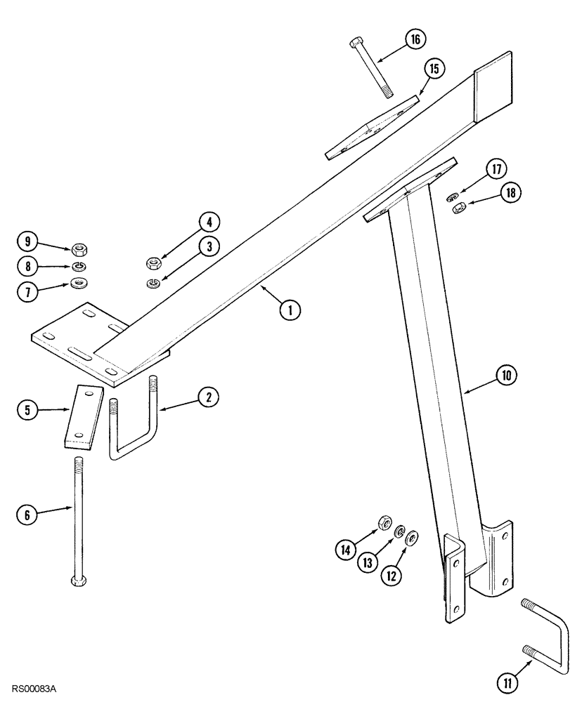
1

188226A1

STOP

primary wing

2шт.

2

608294R1

U-BOLT,U, 5/8" - 11 x 134mm

BOLT "U" 5/8" NC, with level lift hitch

2шт.

3

492-11062

BEARING WASHER,5/8"

4шт.

4

425-1010

NUT,5/8"-11, G5

4шт.

5

181759A1

BAR

clamping, with level lift hitch

2шт.

6

413-10192

BOLT,Hex, 5/8" - 11 x 12", Gr 5

BOLT hex, 5/8" NC x 12", with level lift hitch

4шт.

6

413-10104

BOLT,Hex, 5/8" - 11 x 6-1/2", Gr 5

With floating hitch

8шт.

7

495-21069

WASHER,5/8"

flat, 11/16" x 1-3/4" x 9/64"

4шт.

8

492-11062

BEARING WASHER,5/8"

4шт.

9

425-1010

NUT,5/8"-11, G5

4шт.

10

188230A1

BRACE

wing stop

2шт.

11

609871R1

BOLT,Wheel, 5/8" - 11 x 3 3/8", Class 2

U, 5/8" NC

4шт.

12

495-21069

WASHER,5/8"

flat, 11/16" x 1-3/4" x 9/64"

8шт.

13

492-11062

BEARING WASHER,5/8"

8шт.

14

425-1010

NUT,5/8"-11, G5

8шт.

15

188229A1

LARGE PLATE

PLATE, LARGE brace mounting

2шт.

16

413-1080

BOLT,Hex, 5/8" - 11 x 5", Gr 5

8шт.

17

492-11062

BEARING WASHER,5/8"

8шт.

18

425-1010

NUT,5/8"-11, G5

8шт.

Выбрано товаров: 19