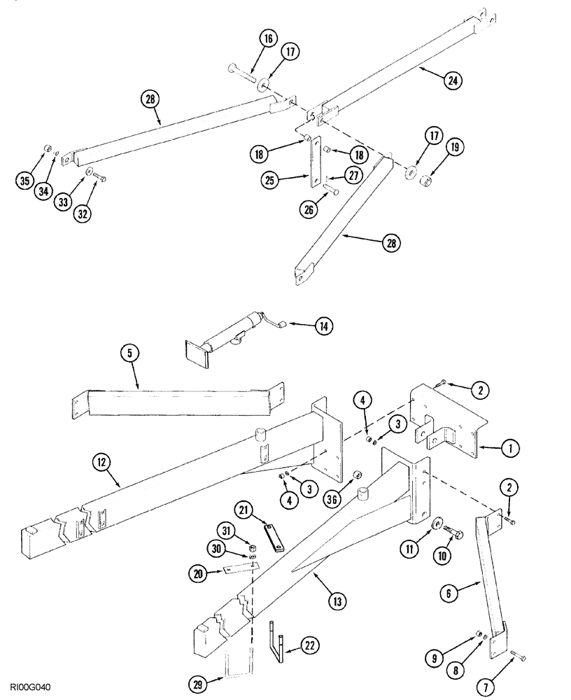
Запчасти Case IH 5850 (09-78) - LEVEL LIFT HITCH, BRACES AND BEAMS, FLAT FOLD (09) - CHASSIS

Схема запчастей Case IH 5850 - (09-78) - LEVEL LIFT HITCH, BRACES AND BEAMS, FLAT FOLD (09) - CHASSIS
28
5
25
19
17
30
33
7
4
29
13
35
36
17
3
9
10
14
27
16
20
18
32
6
34
31
12
8
24
3
11
4
2
1
28
2
18
22
21
26
FIT
1:1
100%

Артикул

Название

Примечание

Количество

1

1284134C2

ANGLE

BRACKET hitch connecting

1шт.

2

413-1032

BOLT,Hex, 5/8" - 11 x 2", Gr 5

8шт.

3

492-11062

BEARING WASHER,5/8"

8шт.

4

425-1010

NUT,5/8"-11, G5

8шт.

5

1960527C1

TUBE ASSY.

BRACE hitch, outer, L.H., 25 foot and 27 foot wide only

1шт.

6

1960528C1

TUBE ASSY.

BRACE hitch, outer, R.H., 25 foot and 27 foot wide only

1шт.

7

413-1060

BOLT,Hex, 5/8" - 11 x 3-3/4", Gr 5

BOLT hex, 5/8" NC x 3-3/4"

4шт.

8

492-11062

BEARING WASHER,5/8"

4шт.

9

425-1010

NUT,5/8"-11, G5

4шт.

10

252079A1

BOLT

hex

2шт.

11

496-81017

WASHER,1 3/8" x 2 1/2" x .156", HDN

flat, 1-3/8" x 2-1/2" x 1/8"

2шт.

12

97700C1

TRAILER HITCH

BEAM, L.H.

1шт.

13

97701C1

TRAILER HITCH

BEAM, R.H.

1шт.

14

121557A1

JACK ASSY.

hitch

1шт.

16

413-1696

BOLT,Hex, 1" - 8 x 6", Gr 5

BOLT hex, 1" NC x 6"

1шт.

17

495-21106

WASHER,1"

flat, 1-1/16" x 2-1/2" x 5/32"

2шт.

18

571823R1

SPACER,1 1/4" Tube x 1"

SPACER front connecting tube

2шт.

19

231-41116

NUT,1"-8, GB

hex, self-locking, 1" NC

1шт.

20

812865C1

BAR

clamp

6шт.

21

181759A1

BAR

clamping

4шт.

22

413-10192

BOLT,Hex, 5/8" - 11 x 12", Gr 5

BOLT hex, 5/8" NC x 12"

4шт.

24

1284408C1

TUBE,1330 mm Length

connecting, front

1шт.

25

1284496C1

BAR

pivot, intermediate

1шт.

26

439-51644

HEADED PIN,1" x 2 3/4", G5

headed, 1" x 2-3/4"

1шт.

27

432-1632

COTTER PIN,1/4" x 2"

1/4" x 2"

1шт.

28

143019A1

TUBE,2353 mm Length

connecting, rear

2шт.

29

812864C1

U-BOLT,5/8" - 11 x 11.6"

BOLT "U" 5/8" NC x 11-5/8"

6шт.

30

492-11062

BEARING WASHER,5/8"

16шт.

31

425-1010

NUT,5/8"-11, G5

16шт.

32

413-1244

BOLT,Hex, 3/4" - 10 x 2-3/4", Gr 5

hex, 3/4" NC x 2-3/4"

2шт.

33

495-81045

WASHER,25/32" x 1 3/4" x .179"

flat, 25/32" x 1-3/4" x 11/64"

2шт.

34

1333812C1

BUSHING,19.3mm ID x 25.4mm OD x 15mm L

connecting tube, rear

2шт.

35

231-41112

LOCK NUT,3/4"-10, GB

2шт.

36

28748R1

LOCK NUT,1 1/4"-7, G5

hex, self-locking, 1-1/4" NC

2шт.

Выбрано товаров: 34