Запчасти Case IH 5850 (09-88) - TRAILING HITCH (09) - CHASSIS

Схема запчастей Case IH 5850 - (09-88) - TRAILING HITCH (09) - CHASSIS
12
9
7
5
5
11
3
6
2
10
8
1
4
FIT
1:1
100%

Артикул

Название

Примечание

Количество

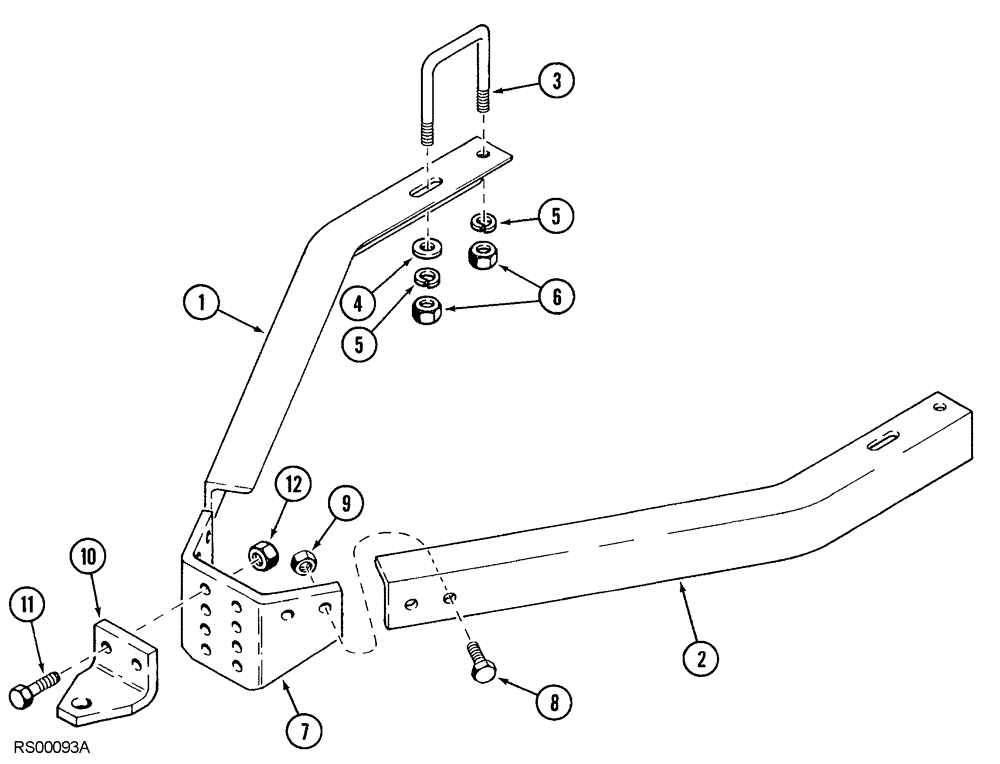
1

598843R2

ANGLE

ARM trailing hitch, L.H.

1шт.

2

598844R2

ANGLE

ARM trailing hitch, R.H.

1шт.

3

608294R1

U-BOLT,U, 5/8" - 11 x 134mm

BOLT "U" 5/8" NC

2шт.

4

495-81027

WASHER,21/32" x 1 1/2" x .120"

flat, 21/32" x 1-1/2" x 7/64"

2шт.

5

492-11062

BEARING WASHER,5/8"

4шт.

6

425-1010

NUT,5/8"-11, G5

4шт.

7

598071R1

SUPPORT

trailing hitch arms

1шт.

8

413-1028

BOLT,Hex, 5/8" - 11 x 1-3/4", Gr 5

hex, 5/8" NC x 1-3/4"

4шт.

9

425-1010

NUT,5/8"-11, G5

4шт.

10

598072R1

ANGLE

BRACKET mounting, hitch

1шт.

11

413-1032

BOLT,Hex, 5/8" - 11 x 2", Gr 5

2шт.

12

425-1010

NUT,5/8"-11, G5

2шт.

Выбрано товаров: 12