Запчасти Case IH 645 (L-23) - HYDRAULIC CYLINDERS, HYDRAULIC CYLINDER, IH, 3.5 X 8 DOUBLE ACTING

Схема запчастей Case IH 645 - (L-23) - HYDRAULIC CYLINDERS, HYDRAULIC CYLINDER, IH, 3.5 X 8 DOUBLE ACTING
FIT
1:1
100%

Артикул

Название

Примечание

Количество

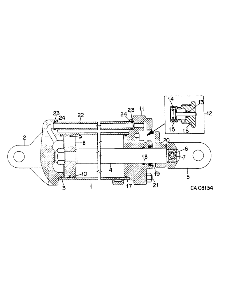
1263474C91

CYLINDER ASSY.

CYLINDER ASSY, 3-1/2 x 8 DA S.V, w/1.5 rod

1шт.

1

SLEEVE, hyd cylinder (NSS)

1шт.

2

145354C1

HEAD

rear

1шт.

3

O-RING, 3-1/4 x 3-1/2 class 6, note A, rear head (NSS)

1шт.

3

RING, back-up, note A (NSS)

1шт.

4

1272813C1

ROD

piston

1шт.

20268R1

LOCK NUT,7/8"-14, GC

NUT, 7/8-NF PHC P/T lock type 8

1шт.

5

1282366C1

RAM FORK

END, piston rod

1шт.

6

180121

BOLT,Hex, 3/8" - 16 x 7/8", Gr 5

3/8 x 7/8 type 5

1шт.

7

145453C1

PLUG,Lock, 7.938mm Dia x 3.175mm Thk, Nylon

PAD, rod end insert

1шт.

8

145422C1

PISTON

cylinder

1шт.

9

O-RING, 3 x 3-3/16 class 5, note A, piston

1шт.

10

SEAL, piston o-ring, note A (NSS)

1шт.

11

1255096C1

END

HEAD ASSY, front

1шт.

12

1260968C91

VALVE

ASSY, limit stop, includes ref nos. 13 thru 16

1шт.

13

O-RING, 3/16 x 5/16 class 6, note B (NSS)

1шт.

14

WASHER, stop limit back-up, note B (NSS)

1шт.

15

O-RING, 11/16 x 7/8 class 6, note B (NSS)

1шт.

16

O-RING, 3/4 OD tube class 6, note B (NSS)

1шт.

17

O-RING, 3-1/4 x 3-1/2 class 6, note A, front head

1шт.

17

RING, back-up, note A (NSS)

1шт.

18

SEAL, cyl piston rod urethane, note A (NSS)

1шт.

19

SEAL, piston rod wiper, note A (NSS)

1шт.

20

224581C2

ARM

VALVE, hyd cylinder trip

1шт.

1263435C91

ADJUSTMENT SCREW

1шт.

1266705C1

SQUARE NUT

5/16-18 square

1шт.

21

145250C1

BOLT,5/8" - 11 x 345mm

cylinder tie

4шт.

102639

NUT,5/8"-11, G5

4шт.

22

371211R2

TUBE,0.573" ID, 0.748" OD, 10.963" Length

cyl return

1шт.

110730

LOCK WASHER

WASHER, 3/8 pln LT lock

1шт.

23

O-RING, 9/16 x 3/4 class 6, note B (NSS)

2шт.

24

WASHER, return tube o-ring back-up, note B (NSS)

2шт.

79978C1

SEAL KIT

KIT, o-ring and seal service consists of ref no. 3, 9, 10, 17, 18 & 19

1шт.

1272597C91

KIT

valve & transfer tube consists of ref no. 13 thru 16, 23, 24

1шт.

Выбрано товаров: 34