Запчасти Case IH 6750 (75.200.07) - DISC MOUNT (09) - CHASSIS/ATTACHMENTS

Схема запчастей Case IH 6750 - (75.200.07) - DISC MOUNT (09) - CHASSIS/ATTACHMENTS
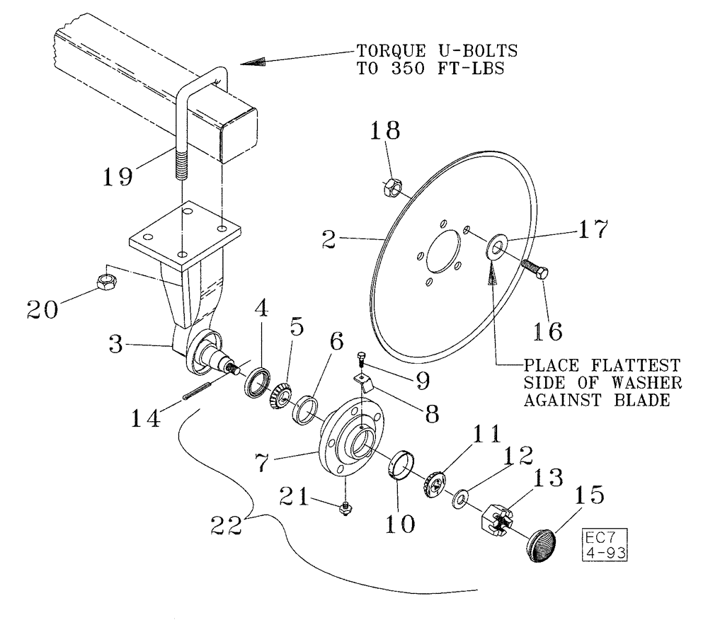
22
7
4
16
2
10
19
15
11
5
17
13
21
9
3
12
8
14
18
20
6
FIT
1:1
100%

Артикул

Название

Примечание

Количество

1

09971700

CENTRALIZER

Mount

1шт.

1

09971800

MOUNTING PARTS

Rh

1шт.

1

09971900

MOUNTING PARTS

Lh

1шт.

2

87443007

PLOW DISC

20, Blade

1шт.

3

09970701

FURROW WHEEL

Spindle, Center

1шт.

3

09970801

FURROW WHEEL

Spindle, Rh

1шт.

3

09970901

FURROW WHEEL

Spindle, Lh

1шт.

4

21932120

SEAL,53.98mm ID x 76.2mm OD x 6.35mm Thk

3.00 OD, Carbox #115, CR538816

1шт.

5

663557R91

BEARING ASSY,1.625" ID x 2.892" OD x 0.77"

1.62, Timken LM501349

1шт.

6

663558R1

BEARING CUP

2.89 OD, Timken LM501310

1шт.

7

28705006

HUB

Disc, With Cups

1шт.

8

87541117

RETAINER,Dust Cap

Dust Cap

1шт.

9

413-58

BOLT,Hex, 5/16" - 18 x 1/2", Gr 5

1шт.

10

651817R1

BEARING CUP

2.33 OD, Timken LM67010

1шт.

11

651818R91

ROLLER BEARING,31.77 mm ID x 16.08 mm

1.25, Timken LM67048

1шт.

12

87716935

WASHER,22.6mm ID x 44.5mm OD x 6.4mm Thk

2шт.

13

425-1314

SLOTTED NUT,7/8"-14, G5

1шт.

14

432-1024

COTTER PIN,5/32" x 1 1/2"

1шт.

15

28490001

HUB CAP

1шт.

16

426-832

BOLT,Hex, 1/2" - 13 x 2", Gr 8

5шт.

17

17409010

WASHER,14.22mm ID x 35.05mm OD x 4.75mm Thk

9/16 ID x 3/8 OD, Special

5шт.

18

86992215

LOCK NUT,1/2"-13, GC

Stover

5шт.

19

87427185

U-BOLT

3/4 x 4, Square

2шт.

20

425-1012

NUT,3/4"-10, G5

4шт.

21

219-87

LUBE NIPPLE,1/4" - 28 NPTF

1шт.

22

28199902

HUB ASSY.

Complete

1шт.

Выбрано товаров: 26