Запчасти Case IH 6750 (014) - 5000# JACK (09) - CHASSIS

Схема запчастей Case IH 6750 - (014) - 5000# JACK (09) - CHASSIS
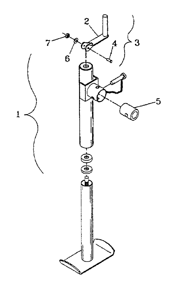
1
2
5
3
4
7
6
FIT
1:1
100%

Артикул

Название

Примечание

Количество

1

32230000

JACK

5000 lb

1шт.

2

NSS

NOT SOLD SEPARAT

HANDLE jack

1шт.

Part of KIT, part number 32230100

1шт.

3

32230100

PACKAGE

KIT handle replacement (Includes: Ref. 2, 4)

1шт.

4

413-416

BOLT,Hex, 1/4" - 20 x 1", Gr 5

1шт.

Part of KIT, part number 32230100

1шт.

5

09311040

TUBE,1.3" ID, 2" OD, 2.62" Length

TUBE mounting

1шт.

6

495-11028

WASHER,1/4", SAE

1шт.

7

230-4114

NUT,1/4"-20, GA

1шт.

Выбрано товаров: 9