Запчасти Case IH 730B (75.200.01) - AUTO-RESET ASSEMBLY (09) - CHASSIS/ATTACHMENTS

Схема запчастей Case IH 730B - (75.200.01) - AUTO-RESET ASSEMBLY (09) - CHASSIS/ATTACHMENTS
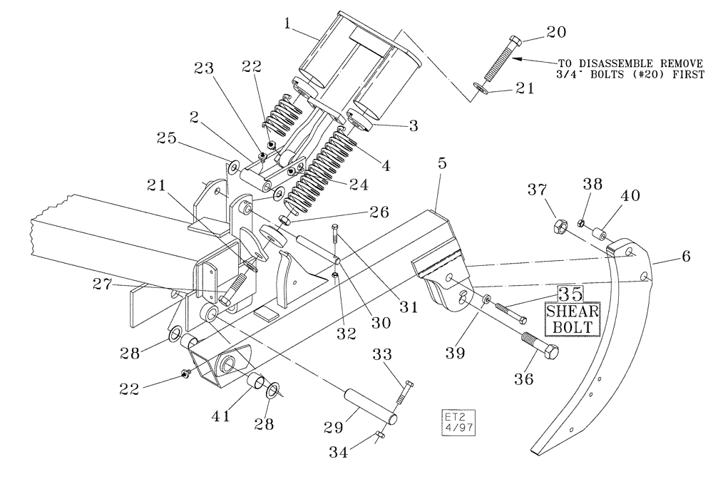
35
23
1
33
6
26
34
4
31
22
28
29
20
36
30
28
5
25
41
38
24
37
40
39
32
21
22
2
3
21
27
FIT
1:1
100%

Артикул

Название

Примечание

Количество

1

09984675

SPRING BOX

Auto-Reset Canister

1шт.

2

09984650

LINK/SHACKLE

Auto-Reset

1шт.

3

20090090

SPRING BOX

Casting

4шт.

4

24162501

COIL SPRING

Compression

2шт.

5

09984645

BEAM ASSY.

Inc. 39 & 41

1шт.

6

09983476

SHANK

Hard Surfaced, Inc. 40

1шт.

20

16901225

CAPSCREW,Hex, 3/4" - 10 x 6 1/2", Gr 5

3/4" x 6-1/2", NC, Hex., Gd. 5

2шт.

21

17413011

WASHER

3/4", Standard

4шт.

21

NSS

NOT SOLD SEPARAT

3/4", Standard

4шт.

22

219-87

LUBE NIPPLE,1/4" - 28 NPTF

Straight

2шт.

23

219-86

LUBE NIPPLE,1/8" NPTF

Self-Tapping

1шт.

24

219-40

LUBE NIPPLE,65 Degree Elbow, 1/8" - 27 NPTF

Self Tapping

1шт.

25

17616020

WASHER

1" Dia, Machine, 14 Ga.

2шт.

26

425-1012

NUT,3/4"-10, G5

NC, Hex.

1шт.

24

NSS

NOT SOLD SEPARAT

1/4", Self-Tapping (77742100)

4шт.

27

413-1248

BOLT,Hex, 3/4" - 10 x 3", Gr 5

NC

2шт.

28

17627010

WASHER,41.67mm ID x 60.33mm OD x 2.08mm Thk

1-5/8", Dia, 14 Ga.

2шт.

29

14892671

SPECIAL PIN,41.27mm OD x 230.12mm L

1-5/8", Dia, H.T.

1шт.

30

14891665

HITCH PIN

1, Dia

1шт.

31

413-636

BOLT,Hex, 3/8" - 16 x 2-1/4", Gr 5

1шт.

32

231-4246

LOCK NUT,3/8"-16, GB

NC, Hex.

1шт.

33

413-848

BOLT,Hex, 1/2" - 13 x 3", Gr 5

NC

1шт.

34

86992215

LOCK NUT,1/2"-13, GC

NC, Stover

1шт.

35

413-1080

BOLT,Hex, 5/8" - 11 x 5", Gr 5

NC

1шт.

36

16902016

BOLT

1-1/4" x 4", NC, Hex., Gd. 5

1шт.

37

25-1420

JAM NUT,Jam, 1 1/4"-7, G5

NC

1шт.

38

425-1010

NUT,5/8"-11, G5

NC, Hex.

1шт.

39

44006520

BUSHING

1-5/16", Large

2шт.

40

44006530

BUSHING

1-1/2", Large

1шт.

41

44016250

SPACER

1-5/8"

2шт.

Выбрано товаров: 30