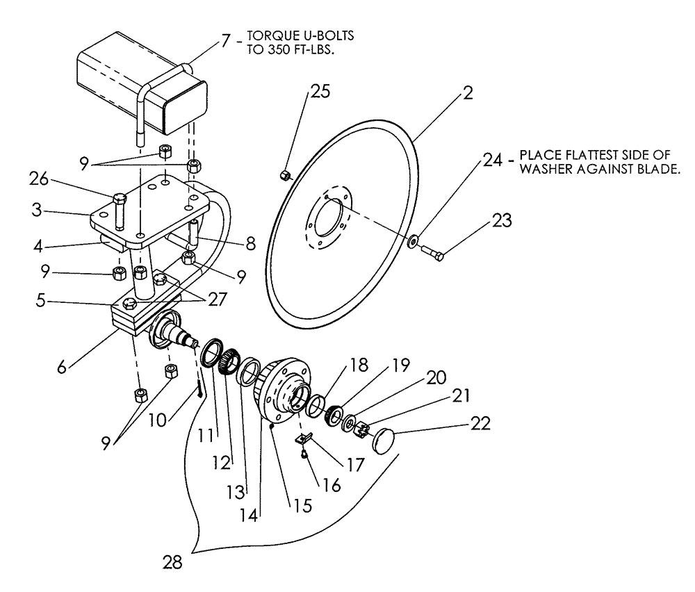
Запчасти Case IH 730B (75.200.03) - CUSHION DISC MOUNT ASSEMBLY (09) - CHASSIS/ATTACHMENTS

Схема запчастей Case IH 730B - (75.200.03) - CUSHION DISC MOUNT ASSEMBLY (09) - CHASSIS/ATTACHMENTS
11
24
15
22
14
16
20
19
12
9
9
9
18
2
26
5
13
3
10
17
25
9
8
27
23
28
6
21
7
4
FIT
1:1
100%

Артикул

Название

Примечание

Количество

1

09985255

SHANK

Center, Cushion Mount, Assembly

1шт.

1

09985256

SHANK

RH, Cushion Mount, Assembly, Front

1шт.

1

09985257

SHANK

LH, Cushion Mount, Assembly, Front

1шт.

1

09985258

SHANK

LH, Cushion Mount, Assembly, No Stop, Rear

1шт.

1

09985259

SHANK

RH, Cushion Mount, Assembly, No Stop, Rear

1шт.

2

87443008

PLOW DISC

Blade, 20"

1шт.

2

443632A1

PLOW DISC

Blade, 20"

1шт.

2

87443010

PLOW DISC

Blade, 22"

1шт.

2

443636A1

PLOW DISC

Blade, 22"

1шт.

3

87436346

PLATE, SUPPORT

Flat, Center Mount Only

1шт.

3

09987801

BRACKET

Flat

1шт.

3

09987806

PLATE

Center Mount Only

1шт.

4

33090001

HANGER

Bearing, Painted

1шт.

5

09987805

STOP

Weldment, Front Disc Only

1шт.

6

09987820

SPINDLE

Assembly

1шт.

6

09987825

SPINDLE

Center, Assembly

1шт.

7

16312020

U-BOLT

BOLT "U" 3/4 x 6.18

1шт.

7

87427186

U-BOLT

BOLT "U" 3/4 x 6.18

1шт.

8

16312085

U-BOLT

3/4" x 3.06" x 3"

2шт.

9

86992217

NUT

3/4", NC, Stover

9шт.

10

432-1024

COTTER PIN,5/32" x 1 1/2"

Split

1шт.

11

21932120

SEAL,53.98mm ID x 76.2mm OD x 6.35mm Thk

2.12", Carbox, CR538816

1шт.

In an emergency Chicago Rawhide seal 21159 may be used

1шт.

12

663557R91

BEARING ASSY,1.625" ID x 2.892" OD x 0.77"

1.625", Timken LM501349

1шт.

13

663558R1

BEARING CUP

2.892", Timken LM501310

1шт.

14

28705012

HUB ASSY.

With Cups

1шт.

15

219-87

LUBE NIPPLE,1/4" - 28 NPTF

1шт.

16

413-58

BOLT,Hex, 5/16" - 18 x 1/2", Gr 5

NC

1шт.

17

09970770

RETAINER

Dust Cap

1шт.

18

651817R1

BEARING CUP

2.33", Timken LM67010

1шт.

19

651818R91

ROLLER BEARING,31.77 mm ID x 16.08 mm

1.25", Timken LM67048

1шт.

20

17915000

WASHER

7/8", H.T., Black

2шт.

21

425-1314

SLOTTED NUT,7/8"-14, G5

Hex.

1шт.

22

28490001

HUB CAP

Dust

1шт.

23

426-832

BOLT,Hex, 1/2" - 13 x 2", Gr 8

NC

5шт.

24

17409010

WASHER,14.22mm ID x 35.05mm OD x 4.75mm Thk

9/16" x 1-3/8", OD, Special

5шт.

25

86992215

LOCK NUT,1/2"-13, GC

NC, Stover

1шт.

26

413-1248

BOLT,Hex, 3/4" - 10 x 3", Gr 5

1шт.

26

420-21248

PLOW BOLT,#3, 3/4" - 10 x 3", Gr 8

NC

1шт.

27

413-1256

BOLT,Hex, 3/4" - 10 x 3-1/2", Gr 5

NC

2шт.

27

413-1248

BOLT,Hex, 3/4" - 10 x 3", Gr 5

NC, For Use Without Stop

2шт.

28

28199902

HUB ASSY.

Complete

1шт.

Выбрано товаров: 42