Запчасти Case IH 730B (75.200.04) - RIGID DISC MOUNT ASSEMBLY (09) - CHASSIS/ATTACHMENTS

Схема запчастей Case IH 730B - (75.200.04) - RIGID DISC MOUNT ASSEMBLY (09) - CHASSIS/ATTACHMENTS
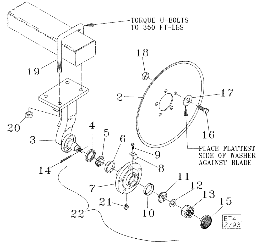
7
10
22
18
11
3
13
4
9
14
15
6
12
16
21
8
17
19
5
2
20
FIT
1:1
100%

Артикул

Название

Примечание

Количество

1

09985200

BAR ASSY.

Center, Disc Mount

1шт.

1

09985260

SHANK

Disc Mount, Assembly, RH

1шт.

1

09985250

BAR ASSY.

Disc Mount, Assembly, LH

1шт.

2

87443008

PLOW DISC

Blade, 20"

1шт.

2

87443009

PLOW DISC

Notched, Blade, 20", Serial Range: -825499

1шт.

2

87443010

PLOW DISC

Blade, 22"

1шт.

2

443632A1

PLOW DISC

Blade, 20"

1шт.

2

443634A1

PLOW DISC

Notched, Blade, 20" (For S.NO. 825499 & Before), Serial Range: -825499

1шт.

2

443636A1

PLOW DISC

Blade, 22"

1шт.

3

09985210

BAR ASSY.

Center, Disc Mount, Less Hub

1шт.

3

09985280

BRACKET

Disc Mount, Less Hub, RH

1шт.

3

09985270

BRACKET

Disc Mount, Less Hub, LH

1шт.

4

21932120

SEAL,53.98mm ID x 76.2mm OD x 6.35mm Thk

3.00", OD, Carbox 115

1шт.

In an emergency Chicago Rawhide seal 21159 may be used

1шт.

5

663557R91

BEARING ASSY,1.625" ID x 2.892" OD x 0.77"

1.62", Timken LM501349

1шт.

6

663558R1

BEARING CUP

2.89", OD, Timken LM501310

1шт.

7

28705012

HUB ASSY.

With Cups

1шт.

8

09970770

RETAINER

Dust Cap

1шт.

9

413-58

BOLT,Hex, 5/16" - 18 x 1/2", Gr 5

5/16" x 1/2", NC

1шт.

10

651817R1

BEARING CUP

2.33", OD, Cup, LM67010

1шт.

11

651818R91

ROLLER BEARING,31.77 mm ID x 16.08 mm

1.25", Timken LM67048

1шт.

12

17915000

WASHER

7/8", Hardened

2шт.

13

425-1314

SLOTTED NUT,7/8"-14, G5

Hex.

1шт.

14

432-1024

COTTER PIN,5/32" x 1 1/2"

Split

1шт.

15

28490001

HUB CAP

1шт.

16

426-832

BOLT,Hex, 1/2" - 13 x 2", Gr 8

NC

5шт.

17

17409010

WASHER,14.22mm ID x 35.05mm OD x 4.75mm Thk

9/16" ID x 1-3/8" OD, Special

5шт.

18

86992215

LOCK NUT,1/2"-13, GC

NC, Stover

5шт.

19

87427186

U-BOLT

BOLT "U" 3/4", NC x 4" x 6", Square

2шт.

19

16312240

U-BOLT

3/4", NC x 4" x 6", Square

2шт.

20

425-1012

NUT,3/4"-10, G5

NC, Hex.

4шт.

21

219-87

LUBE NIPPLE,1/4" - 28 NPTF

Straight

1шт.

22

28199902

HUB ASSY.

Complete

1шт.

Выбрано товаров: 33