Запчасти Case IH 730B (75.200.11) - DISC LEVELER 2008 AND AFTER UNITS (09) - CHASSIS/ATTACHMENTS

Схема запчастей Case IH 730B - (75.200.11) - DISC LEVELER 2008 AND AFTER UNITS (09) - CHASSIS/ATTACHMENTS
14
17
2
16
14
20
3
11
22
13
21
23
13
19
6
4
9
15
7
10
22
8
18
12
14
5
2
11
FIT
1:1
100%

Артикул

Название

Примечание

Количество

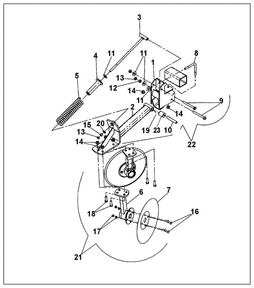
1

09103200

LEVELLING DEVICE

Mount, Disc

1шт.

2

09103300

LEVELLING DEVICE

Pivot Arm, Disc

1шт.

3

09103250

LEVELLING DEVICE

T-Bolt

1шт.

4

09103020

RETAINER

Long Spring

1шт.

5

24146820

SPRING

Compression

1шт.

6

09103101

HUB

Disc Spindle Assembly

2шт.

7

443628A1

PLOW DISC

18", Blade

2шт.

8

87427190

SPECIAL BOLT

5-5/16", Square

1шт.

9

16901022

CAPSCREW,Hex, 5/8" - 11 x 6"

5/8" x 6", NC, Hex., A325

2шт.

10

09103030

PLUG

Bushing Heat Treated

1шт.

11

495-21069

WASHER,5/8"

Flat

4шт.

12

86992216

NUT

5/8", NC, Hex.

2шт.

13

425-1410

JAM NUT,Jam, 5/8"-11, G5

NC, Hex.

2шт.

14

231-53410

FLANGE NUT,Flg, 5/8"-11

NC

6шт.

15

425-1010

NUT,5/8"-11, G5

NC, Hex.

1шт.

16

433-816

CARRIAGE BOLT,Sq Nk, 1/2" - 13 x 1", Gr 5

NC

8шт.

17

425-108

NUT,1/2" - 13, Gr 5

NC

8шт.

18

413-1032

BOLT,Hex, 5/8" - 11 x 2", Gr 5

NC

4шт.

19

219-86

LUBE NIPPLE,1/8" NPTF

NPT, Self Tap Zerk

1шт.

20

17411011

WASHER,17.2mm ID x 32mm OD x 4.37mm Thk

5/8", Flat

1шт.

21

09102020

PLOW DISC

Leveler, With 1 Blade Complete, Includes Ref. 6 - 7 And 22

1шт.

21

09102099

PLOW DISC

Leveler, With 2 Blades Complete, Includes Ref. 6 - 7 And 22

1шт.

22

09103000

BRACKET

Disc Leveler, Mount Assembly (Without Blades, Disc Spindle Assemblies, And Monting Hardware)

1шт.

23

51200158

BUSHING,22.72mm ID x 29.08mm OD x 38.1mm L

2шт.

Выбрано товаров: 0