Запчасти Case IH 900 (75.200.05) - DISC LEVELER (75) - SOIL PREPARATION

Схема запчастей Case IH 900 - (75.200.05) - DISC LEVELER (75) - SOIL PREPARATION
12
22
22
16
7
5
21
5
10
22
19
22
3
17
13
3
22
25
17
2
19
14
22
6
23
11
26
8
1
25
4
18
20
18
26
4
9
15
FIT
1:1
100%

Артикул

Название

Примечание

Количество

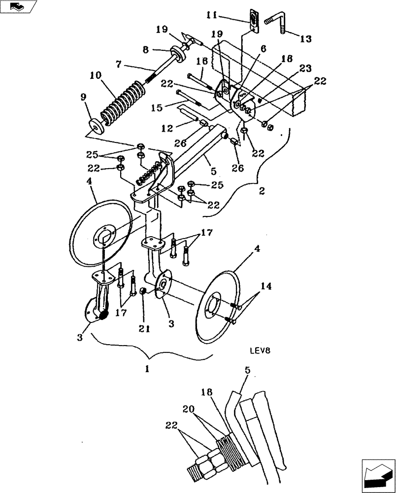
1

09102010

PLOW DISC

Leveler with (1) Blade Complete (Includes #2.3, & 4)

1шт.

1

09102011

PLOW DISC

Leveler with (2) Blades Complete (Includes #2, 3,& 4)

1шт.

2

09102100

PLOW DISC

Disc Level'r Assembly (Includes #5,6, 7, 8, 9, 10, 12, 15, 16, 18, l9 , 2O, 22, & 23)

1шт.

3

09103101

HUB

Spindle Mount Assembly (See Hub & Spindle Below)

1шт.

4

33551850

PLOW DISC

Disc Blade

1шт.

5

09102120

ARM/LIFTING DEVICE

Leveler Pivot Arm

1шт.

6

09102110

PLOW DISC

Leveler Mount

1шт.

7

09102140

EYEBOLT

BOLT, EYE Spring Pivot Bolt

1шт.

8

20090100

HOLDER

Spring Holder Casting

1шт.

9

20090101

HOLDER

Spring Casting With Bushing

1шт.

10

24143891

COIL SPRING

Compression Spring 3-3/4" O.D.

1шт.

12

51200157

BUSHING,16.66mm ID x 22.05mm OD x 129.39mm L

H.T.

1шт.

13

16510150

PLOW BOLT

5/8" Dia. x 5 5/16" Lg. L-Bolt

1шт.

14

413-816

BOLT,Hex, 1/2" - 13 x 1", Gr 5

1шт.

15

13-10112

SCREW,Hex, 5/8" - 11 x 7", Gr 5

1шт.

16

16901029

BOLT

5/8" X 7-1/4" NC Hex Bolt A325 Grade

1шт.

17

413-1032

BOLT,Hex, 5/8" - 11 x 2", Gr 5

1шт.

18

17411012

WASHER

5/8" I.D. x 1/4" Thk. Washer

1шт.

19

495-21069

WASHER,5/8"

1шт.

20

17511000

BELLEVILLE WASHER

11/16" Spring Washer Z.P.

6шт.

21

425-108

NUT,1/2" - 13, Gr 5

1шт.

22

425-1010

NUT,5/8"-11, G5

1шт.

23

219-86

LUBE NIPPLE,1/8" NPTF

1шт.

24

18534273

DECAL

Patent No Decal

1шт.

25

425-1410

JAM NUT,Jam, 5/8"-11, G5

1шт.

26

51200158

BUSHING,22.72mm ID x 29.08mm OD x 38.1mm L

7/8" I.D. Connex Bushing

1шт.

Выбрано товаров: 26