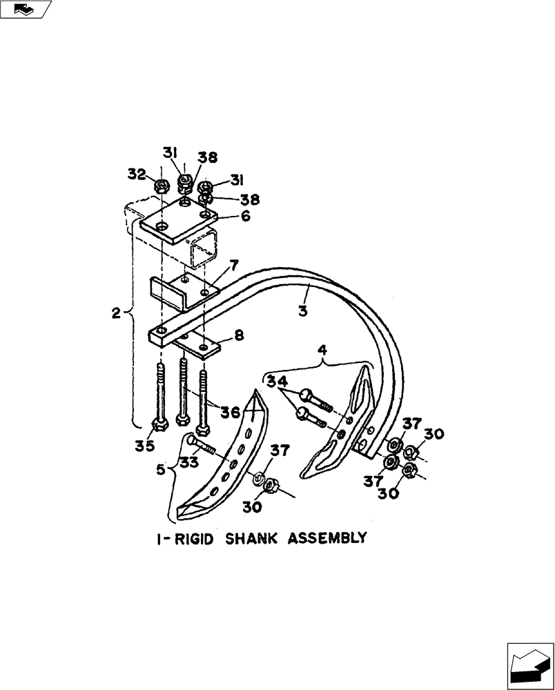
Запчасти Case IH CHIZZL CHAMP (75.200.05) - 29" RIGID SHANK ASSM (75) - SOIL PREPARATION

Схема запчастей Case IH CHIZZL CHAMP - (75.200.05) - 29" RIGID SHANK ASSM (75) - SOIL PREPARATION
37
31
3
30
6
31
33
32
2
7
30
37
37
38
5
34
36
8
35
1
4
30
38
FIT
1:1
100%

Артикул

Название

Примечание

Количество

1

09410000

29"

1шт.

2

09232000

1шт.

3

33020029

SHANK

1 X 2 X 29"

1шт.

4

33310041

POINT

Heavy Duty Chisel W/Hardware

1шт.

4

33310021

FROG

R.H. Twisted Chisel Point W/Hardware

1шт.

5

33310031

FROG

L.H. Twisted Chisel Point W/Hardware

1шт.

6

09213000

CLAMP

Top Plate

1шт.

7

09235000

CLAMP

Lower Shank Mtg. Plate

1шт.

8

09236000

CLAMP

Plate

1шт.

30

NSS

NOT SOLD SEPARAT

1/2 NC Hex. Nut

2шт.

31

NSS

NOT SOLD SEPARAT

5/8 NC Hex. Nut

2шт.

32

NSS

NOT SOLD SEPARAT

3/4 NC Hex. Nut

1шт.

33

NSS

NOT SOLD SEPARAT

1/2 x 2 3/4 NC Plow Bolt

2шт.

34

NSS

NOT SOLD SEPARAT

1/2 x 2 3/4 NC Hex. Bolt, Gd. 5

2шт.

35

16012309

3/4 X 7 1/2 NC , Gd. 8

1шт.

36

16010320

5/8 X 8 NC

2шт.

37

NSS

NOT SOLD SEPARAT

1/2 Std. Flat Washer

2шт.

38

NSS

NOT SOLD SEPARAT

5/8 Lock Washer

2шт.

Выбрано товаров: 18