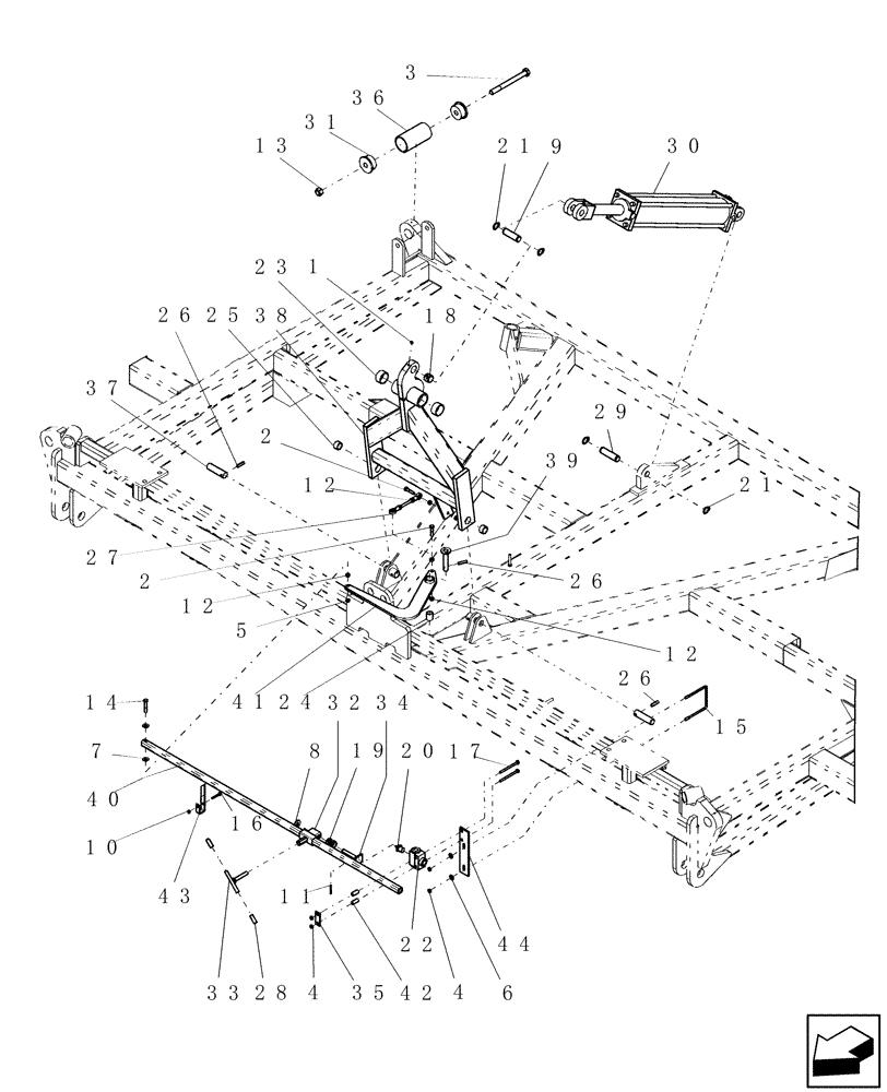
Запчасти Case IH PTX300 (1.091.1) - DEPTH STOP ASSEMBLY - CENTER SECTION (12) - FRAME

Схема запчастей Case IH PTX300 - (1.091.1) - DEPTH STOP ASSEMBLY - CENTER SECTION (12) - FRAME
39
17
2
33
12
36
21
18
31
11
20
4
21
12
10
14
15
28
27
38
5
26
25
44
30
24
3
9
40
41
37
35
1
23
13
12
32
43
29
26
7
34
26
6
4
8
2
19
16
22
42
FIT
1:1
100%

Артикул

Название

Примечание

Количество

1

87414

LUBE NIPPLE,1/4" - 28

1шт.

2

9706689

BOLT,Hex, 3/8" - 16 x 1 3/4", Gr 5

2шт.

3

88945

BOLT,Hex, 3/4" - 10 x 8", Gr 5

1шт.

4

281010

LOCK NUT,7/8"-14, GC

4шт.

5

88902

NUT,3/8"-16

1шт.

6

80664

WASHER,0.38" ID x 0.88" OD x 0.08" Thk

2шт.

7

80702

WASHER,0.44" ID x 1" OD x 0.08" Thk

2шт.

8

80700

WASHER,0.56" ID x 1.38" OD x 0.11" Thk

1шт.

9

1945

PIN

cylinder, 1 x 3 ul snap ring grv

1шт.

10

280129

NUT,1/4"-20

1шт.

11

86523851

COTTER PIN,5/32" x 1 1/4"

1шт.

12

9628503

NUT,3/8"-16, G5

5шт.

13

280375

NUT,3/4"-10, GC

1шт.

14

88546

BOLT,Hex, 3/8" - 16 x 2 1/4", Gr 5

1шт.

15

419990A1

U-BOLT

us 5/16" x 4 1/8" w x 4 3/4" d 3/4" thread

1шт.

16

280164

BOLT,Hex, 1/4" - 20 x 1 3/4", Gr 5

1шт.

17

88964

BOLT,Hex, 5/16" - 18 x 4", Gr 5

2шт.

18

86523224

BUSHING,25.58mm ID x 32.77mm OD x 26.16mm L

tension 1 1/4" x 1" x 1" long

1шт.

19

87506260

COMPRESSION SPRING

5/32" wr 1 5/16" od 1 1/2" long

1шт.

20

6284

CARTRIDGE

valve depth stop

1шт.

21

87019495

SNAP RING,#98, Ext

4шт.

22

51200150

CONTROL VALVE

depth stop assembly complete

1шт.

Includes 6284

1шт.

23

6637

BUSHING

composite 2" x 1 3/4" x 1"

2шт.

24

6647

BUSHING

Nylatron* 1" x 3/4" x 1 1/4" long

1шт.

25

87500592

BUSHING,25.5mm ID x 31.84mm OD x 19.05mm L

composite 1 1/4" x 1" x 3/4"

2шт.

26

425291A1

ROLL PIN

3/8" x 1 1/2" spiral

3шт.

27

8299

LINKAGE

6 1/8" long

1шт.

28

419996A1

CAP

vinyl 7/16" x 1 1/2"

2шт.

29

8972

PIN

cylinder, 1" x 3 3/8" ul with snap ring groove (#437324)mo

1шт.

30

9652

HYDRAULIC CYLINDER,Double Acting, 44.5mm Rod, 610mm Stroke

4" x 24" Monarch 3000 psi no pins 1 3/4" rod 1/2" fb ports inline

1шт.

Refer to 4 x 24 Cylinder page for details

1шт.

30

9652R

REMAN-HYD CYLINDER

PTX300 CHISEL PLOW CENTER SECTION, 4" x 24" Monarch 3000 psi no pins 1 3/4" rod 1/2" fb ports inline (6/02-7/05)

1шт.

30

9652C

CORE-HYD CYLINDER

Return Number

1шт.

31

CA-147

TUBE

flex, 25/32" id x 2 27/64" - flanged

2шт.

32

NW-313

ADJUSTER

depth stop

1шт.

33

NW-314

SPECIAL BOLT

tee depth stop

1шт.

34

432548A1

PLUNGER

depth stop

1шт.

35

NW-352

RETAINER

valve stop

1шт.

36

NW-417

ROLLER

hinge line lift chain

1шт.

37

NW-453

PIN

1" x 3 7/8"

2шт.

38

TH-359

STABILIZER BAR

swaybar

1шт.

Includes 3523, two of 6637, and two of 7995

1шт.

39

TH-384

PIN

drive crank

1шт.

40

TH-385

ADJUSTMENT ROD

depth stop

1шт.

41

TH-387V2

CRANK

drive, depth stop

1шт.

42

TH-390

SPACER

depth rod

1шт.

43

TH-391

INDICATOR

depth

1шт.

44

TH-393

BRACKET

depth stop

1шт.

45

7982

CHAIN

Not Shown, Around Roller, Ref 36

1шт.

Выбрано товаров: 50