Запчасти Case IH PTX600 (2.020.1) - 5 SECTION HYDRAULICS (47 FT AND 50 FT MODELS) (07) - HYDRAULICS

Схема запчастей Case IH PTX600 - (2.020.1) - 5 SECTION HYDRAULICS (47 FT AND 50 FT MODELS) (07) - HYDRAULICS
5
7
5
5
3
9
5
18
21
15
2
17
22
14
4
20
10
15
17
22
19
18
14
5
6
24
13
16
12
1
8
13
9
11
16
21
23
25
5
2.061.1
2.061.1
2.050.1
2.061.1
2.050.1
2.050.1
2.040.1
2.061.1
FIT
1:1
100%

Артикул

Название

Примечание

Количество

1

ND-059

KIT

hose color coding

1шт.

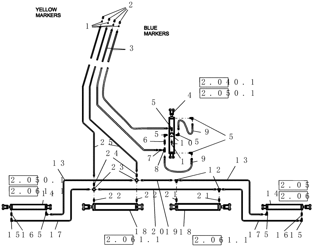
Blue Markers are for the Depth Control Circuit. Yellow Markers are for the Wing Control Circuit

1шт.

2

435414A1

QUICK MALE COUPLING,1/2"-14 NPTF

4шт.

3

22887

HYDRAULIC HOSE,12.7mm ID x 10058mm L, SAE 100R2

1/2" x 396" fl

2шт.

47' models

1шт.

3

432576A1

HYDRAULIC HOSE

1/2" x 420" fl, 1/2" mpt x 1/2" mpt

2шт.

50' models

1шт.

4

9652

HYDRAULIC CYLINDER,Double Acting, 44.5mm Rod, 610mm Stroke

4" x 24" Monarch 3000 psi no pins 1 3/4" rod 1/2" fb ports inline

1шт.

47' models

1шт.

Refer to 4 x 24 Cylinder page for details

1шт.

4

9652R

REMAN-HYD CYLINDER

PTX600 PRECISION TILLAGE BSN Y9S003001, 47' models, 4" x 24" Monarch 3000 psi no pins 1 3/4" rod 1/2" fb ports inline (12/01-7/08)

1шт.

4

9652C

CORE-HYD CYLINDER

Return Number

1шт.

4

87437292

HYDRAULIC CYLINDER,Double Acting, 44.45mm Rod, 812.8mm Stroke

4" x 32" mon 3000 psi without pins

1шт.

50' models

1шт.

Refer to 4" X 32" Cylinder page for details

1шт.

87437292R

REMAN-HYD CYLINDER

PTX600 BSN Y9S003001 (12/01-7/08)

1шт.

87437292C

CORE-HYD CYLINDER

Return Number

1шт.

5

3568

ELBOW

stl 90º 1/2"mb 1/2"fpx

7шт.

6

8463

CHECK VALVE

1/2" fpt x 1/2" mpt

1шт.

7

218-903

HYD CONNECTOR,1/2" NPT x 1/2"

1шт.

8

617267

TEE,1/2"-14 Female x 1/2"-14 Male Run

1шт.

9

22829

HYDRAULIC HOSE,0.50" ID x 15.00", SAE J517

2шт.

10

51200150

CONTROL VALVE

depth stop assembly complete

1шт.

Includes 6284

1шт.

11

6284

CARTRIDGE

valve depth stop

1шт.

12

1242

TEE

fitting, hydraulic - swivel

2шт.

13

22613

HYDRAULIC HOSE,0.38" ID x 121.00", SAE J517, SAE J516, SAE J846, SAE J1273

3/8" x 121" fl, 1/2" mpt x 1/2" mpt

2шт.

14

87437292

HYDRAULIC CYLINDER,Double Acting, 44.45mm Rod, 812.8mm Stroke

4" x 32" mon 3000 psi without pins

2шт.

Refer to 4" X 32" Cylinder page for details

1шт.

14

87437293

HYDRAULIC CYLINDER,Double Acting, 50.8mm Rod, 762mm Stroke

5" x 30" Monarch 3000 psi without pins

2шт.

Refer to 5" Hydraulic Cylinder - Monarch page for details

1шт.

15

87331082

FITTING

90º, 1/2" NPTF Male x 1/2" NPSM Fem Sw

2шт.

16

432571A1

FITTING

restrictor 1/2" mb x 1/2" fp x .125 orifice

2шт.

17

22615

HYDRAULIC HOSE,0.38" ID x 114.00", SAE J517, SAE J516, SAE J1273, SAE J517

3/8" x 114" fl, 1/2" mpt x 1/2" mpt

2шт.

18

87437294

HYDRAULIC CYLINDER,Double Acting, 50.8mm Rod, 1016mm Stroke

5" x 40" mon 3000 psi without pins

2шт.

Refer to 5" Hydraulic Cylinder - Monarch page for details

1шт.

18

87437294R

REMAN-HYD CYLINDER

PTX600 PRECISION TILLAGE BSN Y9S003001, 5" x 40" mon 3000 psi without pins, 5 SECTION HYDRAULICS (47 FT AND 50 FT MODELS) (12/01-7/08)

2шт.

18

87437294C

CORE-HYD CYLINDER

Return Number

2шт.

19

22826

HYDRAULIC HOSE,0.38" ID x 15.00", SAE J517, SAE J516, SAE J846, SAE J1273

3/8" x 15" fl

1шт.

47' models

1шт.

19

22623

HYDRAULIC HOSE,0.38" ID x 52.00", SAE J517, SAE J516, SAE J846, SAE J1273

3/8" x 52" fl, 1/2" mpt x 1/2" mpt

1шт.

50' models

1шт.

20

22827

HYDRAULIC HOSE,0.38" ID x 100.00", SAE J517, SAE J516, SAE J846, SAE J1273

3/8" x 100" fl

1шт.

47' models

1шт.

20

87508188

HYDRAULIC HOSE,9.53mm ID x 3454.4mm L

3/8" x 136" fl, 1/2" mpt x 1/2" mpt

1шт.

50' models

1шт.

21

218-5254

HYD CONNECTOR,3/4" - 16 ORB x 1/2" - 14 NPT

2шт.

22

87331078

FITTING

1/2" morb x 1/2" mpt

2шт.

23

1014993

CROSS

Female, 1/2"-14

2шт.

24

218-903

HYD CONNECTOR,1/2" NPT x 1/2"

2шт.

25

22830

HYDRAULIC HOSE,0.38" ID x 372.00", SAE J517, SAE J516, SAE J846, SAE J1273

3/8" x 372" fl

2шт.

Выбрано товаров: 51