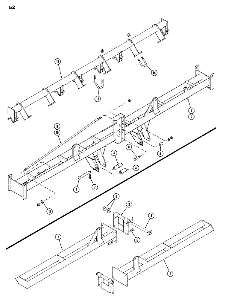
Запчасти Case IH 100-SERIES (52[2]) - WING ASSEMBLY PRIOR TO SN1605900

Схема запчастей Case IH 100-SERIES - (52[2]) - WING ASSEMBLY PRIOR TO SN1605900
8
9
4
4
13
2
2
1
12
3
3
6
11
5
7
6
10
14
5
1
FIT
1:1
100%

Артикул

Название

Примечание

Количество

1

T52974

BAR ASSY.

TOOLBAR - center, 192"

1шт.

1

T53886

BAR ASSY.

TOOLBAR - center, 192" (Repl. T52974 inter.)

1шт.

1

T54031

BAR ASSY.

TOOLBAR - center, 192" (Repl. T53886 inter.)

1шт.

2

T52975

TOOLBAR - center, 162"

1шт.

2

T53887

TOOLBAR - center, 162" (Repl. T52975 inter.)

1шт.

2

T54032

TOOLBAR - center, 162" (Repl. T53887 inter.)

1шт.

3

T52878

SLEEVE - category III

2шт.

4

T52879

SPACER - 1-1/4" x 3-3/4"

2шт.

5

T30665

BUSHING - 1-1/4" x 2"

1шт.

6

T52877

PIN - clevis, 1-1/8" x 8-3/4"

2шт.

7

T50113

PIN

COTTER - hairpin

2шт.

8

113-618

BOLT,Hex, 5/8" - 11 x 4", Gr 5

- 5/8" x 4" N.C. hex., Z.P.

1шт.

192-25

LOCK WASHER,5/8"

WASHER, LOCK, 5/8"

1шт.

129-107

NUT,5/8"-11, G5

1шт.

9

T52972

ROD - truss, 80"

2шт.

10

T52985

ROD - truss, 66"

2шт.

230-41112

LOCK NUT,3/4"-10, GA

NUT - lock, 3/4" N.C. hex.

4шт.

11

T52973

WASHER - 1/4" x 2"

2шт.

12

T54028

TUBE - torsion 66" L

1шт.

13

T51840

U-BOLT

"U" BOLT

6шт.

131-385

LOCK NUT,3/4"-10, GA

NUT - lock, 3/4" N.C. hex., Z.P.

12шт.

14

T51881

U-BOLT

"U" BOLT - (Order T51888)

6шт.

192-25

LOCK WASHER,5/8"

WASHER, LOCK, 5/8"

12шт.

129-107

NUT,5/8"-11, G5

12шт.

1

T52977

WING - short, R.H., 74"

1шт.

1

T52981

WING - long, R.H., 90"

1шт.

2

T52976

WING - short, L.H., 74"

1шт.

2

T52982

WING - long, L.H., 90"

1шт.

3

T52978

HINGE

2шт.

4

T52979

PIN - hinge

2шт.

138-2041

PIN,3/8" x 2", Coiled

2шт.

5

T52980

WASHER - 1/4" x 2-7/8"

4шт.

6

113-604

BOLT,Hex, 5/8" - 11 x 2", Gr 5

8шт.

192-25

LOCK WASHER,5/8"

WASHER, LOCK, 5/8"

8шт.

129-107

NUT,5/8"-11, G5

8шт.

Выбрано товаров: 35