Качественные детали и логистика
Оригинальные и аналоговые запчасти с доставкой по России, Казахстану и Беларуси
©2022 PartSell ООО "Система" ИНН 2463123282 ОГРН 1212400004838
Центральный офис: г. Красноярск, Академика Киренского, д.87, пом.4
Телефон: 8 (800) 777-65-74 Email: zakaz@partsell.ru
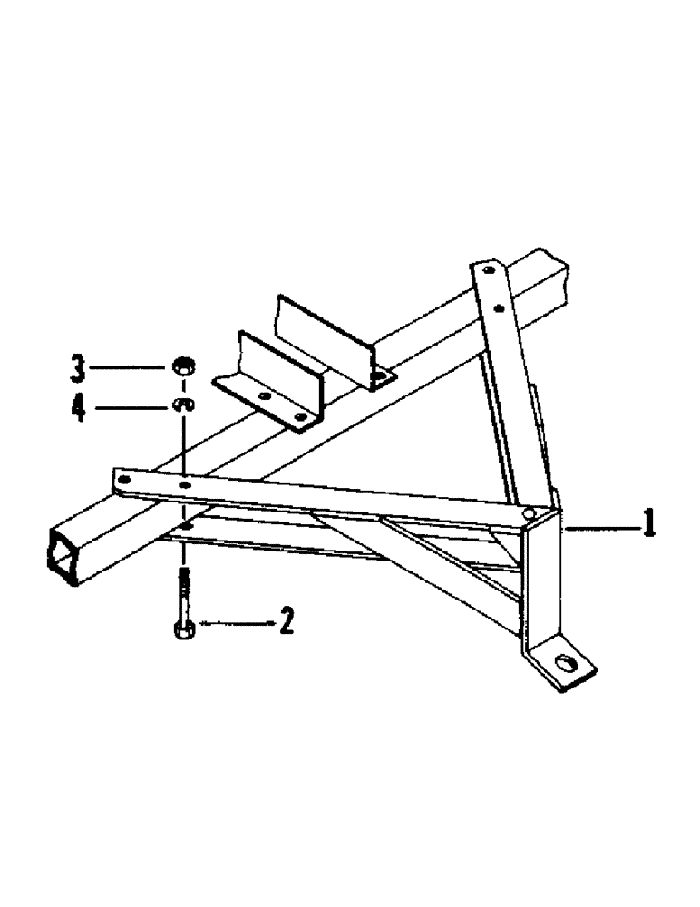
(088) - IMPLEMENT HITCH, 1200T, 1200M, 1200W, 32 FOOT, NEW AND OLD STYLE, 1200W, 38 FOOT
№
Артикул
Название
Примечание
Количество
1
T37948
IMPLEMENT HITCH
1шт.
2
86505993
BOLT,Hex, 1/2" - 13 x 4", Gr 5
4шт.
3
129-105
NUT,Hex, 1/2" - 13, Gr 5
4
192-23
LOCK WASHER,1/2"
WASHER, LOCK, 1/2"
Выбрано товаров: 0