Запчасти Case IH 1830 (09-008) - FRAME - FOLDING, 8 ROW NARROW (Jun 14 2010 7:53:00.2562 AM) No Description

Схема запчастей Case IH 1830 - (09-008) - FRAME - FOLDING, 8 ROW NARROW (Jun 14 2010 7:53:00.2562 AM) No Description
8
1
12
24
22
23
15
9
27
19
11
18
10
13
23
26
17
25
15
21
3
7
2
20
4
14
16
18
FIT
1:1
100%

Артикул

Название

Примечание

Количество

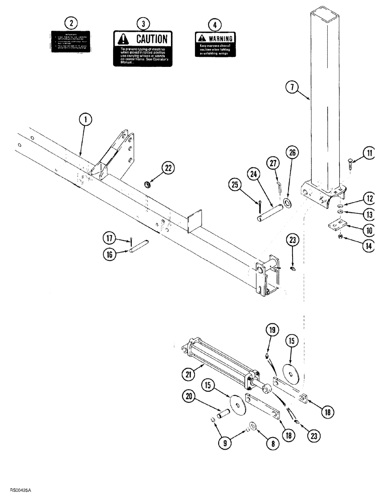
1

104313A1

FRAME ASSY

center, Includes: Ref. 2 - 4

1шт.

2

1250723C1

DECAL

important, cab clearance

1шт.

3

1250839C1

DECAL

caution, to prevent tipping

1шт.

4

59051C2

PRODUCT GRAPHIC

warning, keep everyone clear of machine when folding or unfolding wings

1шт.

6

97772C1

BUSHING

mast, for top hole of the hitch assembly, not shown

1шт.

7

1547704C1

FRAME ASSY

wing

2шт.

8

495-81203

WASHER,1 9/32" x 2" x .120"

flat, 1-9/32" x 2" x 1/8"

4шт.

9

100-16125

SNAP RING,#125, Ext

8шт.

10

149426C2

PLATE

BLOCK stop

2шт.

11

433-1048

CARRIAGE BOLT,Sq Nk, 5/8" - 11 x 3", Gr 5

carriage, 5/8" NC x 3"

4шт.

12

495-21069

WASHER,5/8"

flat, 11/16" x 1-3/4" x 9/64"

28шт.

13

495-81007

WASHER,21/32" x 1 3/4" x .060"

flat, 21/32" x 1-3/4" x 3/64"

4шт.

14

231-42110

LOCK NUT,Hex, 5/8"-11, GB

4шт.

15

145035C1

WASHER

ROLLER cylinder support

4шт.

16

147393C1

PIN

cylinder, base end

2шт.

17

432-1632

COTTER PIN,1/4" x 2"

1/4" x 2"

4шт.

18

149559C1

BAR

wing

4шт.

19

219-17

LUBE NIPPLE,3/16" NPTF

4шт.

20

149560C1

PIN,29.3mm OD x 99.5mm L

cylinder, and wing link

2шт.

21

1286442C91

HYDRAULIC CYLINDER,31.67mm Rod, 406.4mm Stroke

76mm (3") ID x 406 mm (16") stroke, see Figure 08-004

2шт.

22

100247C1

GROMMET

center frame

4шт.

23

219-6

LUBE NIPPLE,1/4" - 28 NPTF

grease, straight, 1/4"-28 taper x 9/16"

4шт.

24

147392C1

PIN,38.1mm OD x 228mm L

hinge

2шт.

25

432-3232

COTTER PIN,1/2" x 2"

1/2" x 2"

2шт.

26

495-81223

WASHER,1 17/32" x 2 1/4" x .060"

flat, 1-17/32" x 2-1/4" x 3/64"

1шт.

27

491601R3

PIN

pivot lock

2шт.

Выбрано товаров: 26