Запчасти Case IH 1830 (09-032) - TENT SHIELD No Description

Схема запчастей Case IH 1830 - (09-032) - TENT SHIELD No Description
12
12
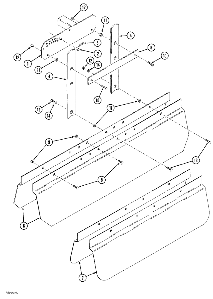
3
11
10
14
1
8
2
7
6
11
14
12
13
12
4
4
5
11
10
9
FIT
1:1
100%

Артикул

Название

Примечание

Количество

1

1547068C1

TUBE,320 mm Length

BRACKET shield mounting

1шт.

2

1547142C1

PIN

special, shield height adjustment

1шт.

3

136-159

HAIR PIN COTTER,Int, 3/16 x .080"

1шт.

4

1547144C1

STRAP

LINK vertical, shield mounting

2шт.

5

1969102C1

BAR

LINK horizontal, shield mounting

1шт.

6

1547794C1

PLATE

SHIELD tent, used with extended linkage

2шт.

7

1547795C1

PLATE

SHIELD tent, used with long linkage

2шт.

8

412-610

CARRIAGE BOLT,Short Sq Nk, 3/8" - 16 x 5/8", Gr 2

carriage, 3/8" NC x 5/8", grade 2

2шт.

9

231-4116

NUT,3/8"-16, GB

hex, self-locking, 3/8" NC

2шт.

10

413-620

BOLT,Hex, 3/8" - 16 x 1-1/4", Gr 5

2шт.

11

1969098C1

BUSHING

linkage pivot

4шт.

12

231-4116

NUT,3/8"-16, GB

hex, self-locking, 3/8" NC

4шт.

13

434-616

CARRIAGE BOLT,Sht Sq Nk, 3/8" - 16 x 1", Gr 5

2шт.

14

495-21044

WASHER,3/8"

(flat, 7/16" x 1" x 5/64")

2шт.

Выбрано товаров: 14