Запчасти Case IH 261 (P-28) - SPRING TEETH, SINGLE

Схема запчастей Case IH 261 - (P-28) - SPRING TEETH, SINGLE
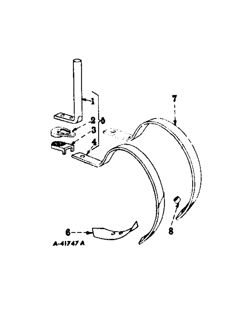
4
5
8
6
7
2
2
1
FIT
1:1
100%

Артикул

Название

Примечание

Количество

1

522087R2

ROD

STANDARD, long

1шт.

1

522286R2

SUPPORT ASSY.

STANDARD, short

1шт.

2

522085R1

SPRING WASHER

adjusting

1шт.

17604R1

BOLT (SPREADER),Hex, 5/8"-11 x 2 3/4", G2

BOLT, 5/8 x 2-3/4 in. mach

1шт.

103325

LOCK WASHER,5/8"

WASHER, LOCK, 5/8"

1шт.

3

522086R2

ADJUSTER

BRACKET, adjusting

1шт.

4

522088R2

SPRING

TOOTH, spring, 1-3/4 in. wide, 3/8 in. thick

1шт.

5

522062R92

TOOTH

ASSEMBLY, long standard single spring

61шт.

5

522282R92

TOOTH

ASSEMBLY, short standard single spring

61шт.

5

466865R91

TOOTH

ASSEMBLY, long standard double spring

61шт.

5

466864R91

TOOTH

ASSEMBLY, short standard double spring

61шт.

6

25702BA

SHOVEL

double point, 2-1/2 x 11 in.

1шт.

25548BBX

BOLT,7/16" - 14 x 1 1/2"

7/16 x 1-1/2 in. convex hd

2шт.

25596BBX

BOLT

7/16 x 2 in. special plow

1шт.

NLS

NO LONGER SERVICED

NUT, 7/16 in. C-Z

1шт.

120383

LOCK WASHER,Helical Spring, 7/16"

WASHER, LOCK, 7/16"

2шт.

21029R1

WASHER

15/32 x 1 in. x 11 ga C-Z

2шт.

7

466866R1

TOOTH

outer spring

61шт.

17651R1

BOLT,Hex, 5/8" - 11 x 3 1/4"

5/8 x 3-1/4 in. mach

1шт.

103325

LOCK WASHER,5/8"

WASHER, LOCK, 5/8"

1шт.

102639

NUT,5/8"-11, G5

1шт.

8

SA2344

SPACER,3/8" Pipe x 7/16"

outer spring tooth

61шт.

Выбрано товаров: 22