Запчасти Case IH 353 (AT-02) - FRAME, FOR UNITS A THRU K

Схема запчастей Case IH 353 - (AT-02) - FRAME, FOR UNITS A THRU K
5
5
2
4
6
7
1
3
FIT
1:1
100%

Артикул

Название

Примечание

Количество

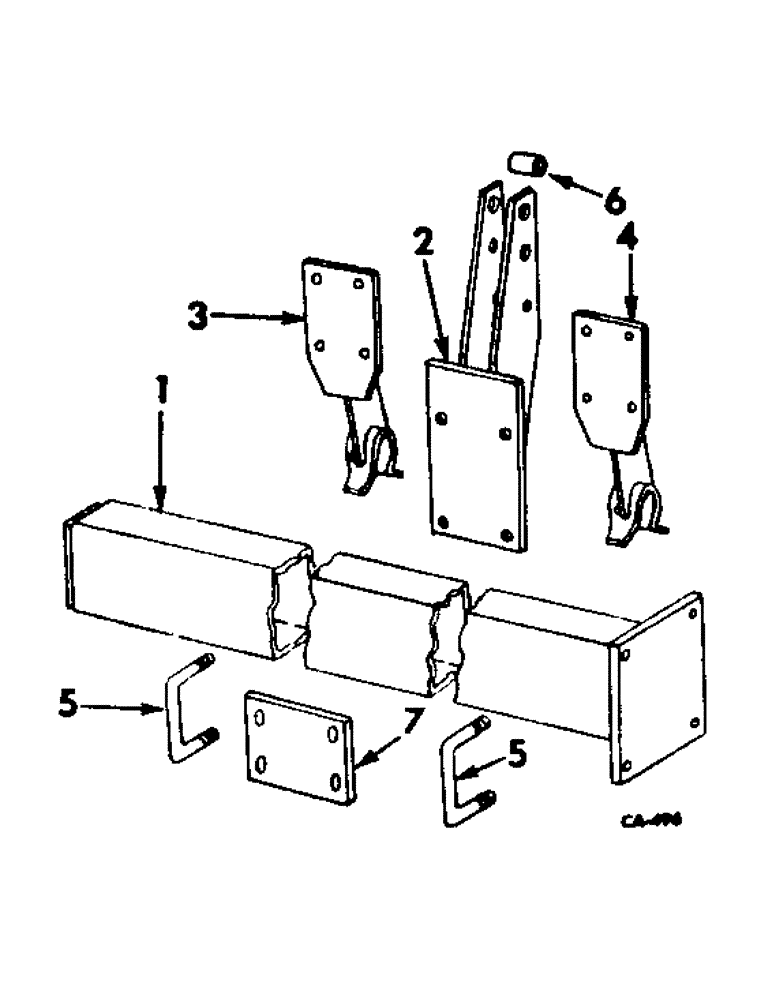
1

543032R1

TUBE, 4 x 6 x 168 in., for units A and C

1шт.

1

543033R1

TUBE

4 x 6 x 190 in., for units D and H

1шт.

1

492943R3

TUBE

ASSY, 5 x 7 x 250 in., for units B, E, F and J

1шт.

1

547306R1

TUBE, 4 x 6 x 88 in., for unit G

1шт.

1

542154R2

FRAME

ASSY, 7 x 7 x 330 in., for unit K

1шт.

2

492928R1

SUPPORT

MAST ASSY, hitch, for units B, E, F, J and K

1шт.

22485R1

BOLT,5/8" x 7 1/4", Gr 5

SCREW, 5/8-11 x 7-1/4 znd hex-hd cap, 2 for units B, E, F and J

1шт.

492-11062

BEARING WASHER,5/8"

WASHER, LOCK, 5/8"

4шт.

280374

NUT,Hex, 5/8" - 11, Gr 5

5/8-11 znd hex.

4шт.

19824R1

BOLT,Hex, 5/8" - 11 x 7 1/2", Gr 5

SCREW, 5/8-11 x 7-1/2 znd hex-hd cap, 2 for units B, E, F and J

1шт.

23830R1

BOLT,Hex, 5/8" - 11 x 9 1/2", Gr 5

SCREW, 5/8-11 x 9-1/2 znd hex-hd cap, 4 for unit K

1шт.

3

492931R1

BRACKET

ASSY, hitch left, for units B, E, F, J and K

1шт.

4

492932R1

BRACKET

ASSY, hitch right, for units B, E, F, J and K

1шт.

5

493468R1

BOLT,7/8" - 9 x 6 1/2"

U-BOLT, for units B, E, F, and J

4шт.

5

493841R1

U-BOLT

for unit K

4шт.

23831R1

NUT,7/8"-9, G8

7/8-9 type 8 znd hex.

8шт.

6

462425R1

SPACER

upper link, for units B, E, F, J and K

1шт.

21184R1

BOLT,Hex, 3/4"-10 x 4 1/4", G2

3/4-10 x 4-1/4 znd hex-hd mach

1шт.

87340

LOCK WASHER,Helical Spring, 0.759" ID, CST, ZND

WASHER, LOCK, 3/4"

1шт.

280954

NUT,3/4"-10, G5

1шт.

7

492947R1

PLATE, mast, for units B, E, F, J and K

1шт.

7

492966R2

PLATE, mast, for units A, C, D, G and H

1шт.

Выбрано товаров: 22