Запчасти Case IH 365 (8-12) - HYDRAULIC CIRCUIT, WING FOLDING, MACHINES BUILT P.I.N 10371 AND AFTER (08) - HYDRAULICS

Схема запчастей Case IH 365 - (8-12) - HYDRAULIC CIRCUIT, WING FOLDING, MACHINES BUILT P.I.N 10371 AND AFTER (08) - HYDRAULICS
2
6
6
9
5
7
10
8
5
8
6
2
7
1
3
11
11
6
4
4
10
3
9
1
FIT
1:1
100%

Артикул

Название

Примечание

Количество

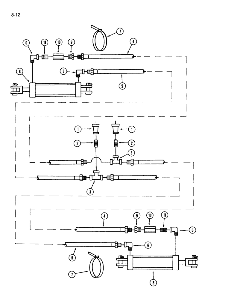
1

122865

COUPLING

- plain pipe, 1/2 to 1/4 inch

2шт.

2

119247

PIPE,Nipple, 1/4" NPT x 4"

FITTING - plain long pipe, 1/4 x 4 inch

2шт.

3

444121

CONNECTOR, ELEC,1/4"-18 Fem

TEE - plain auto pipe, 1/4 inch

2шт.

4

1265747C1

HOSE

- hydraulic lift cylinder, 1/4 x 60 inch

2шт.

5

1265700C1

HOSE

- hydraulic lift cylinder, 1/4 x 54 inch

2шт.

6

444045

ELBOW

- auto, 90 degree, pipe street, 1/2 inch

4шт.

7

306132C1

CABLE TIE,14.5" L

STRAP - tie, nylon, 14 inch

2шт.

8

75753C91

CYLINDER ASSEMBLY - hydraulic, 3-1/2 x 8 inch (See Page 8-31)

2шт.

8

1272147C91

CYLINDER

ASSEMBLY - hydraulic, 3-1/2 x 8 inch (See Page 8-33)

2шт.

145282C1

CLEVIS PIN

PIN - headed

4шт.

520175R1

CLIP

PIN - cotter, hair, 3/16 inch diameter

4шт.

1260900C1

HYD CONNECTOR,1/2" - 14 x 3/4" - 16 NPT

CONNECTOR - 1/2 inch female x 3/4 inch male

2шт.

237-6008

O-RING,0.087" Thk x 0.644" ID, -908, Cl 6, 90 Duro

8-1, 90 Duro, .644" ID x .087" Thk

2шт.

238-6017

O-RING,0.07" Thk x 0.676" ID, -17, Cl 6, 90 Duro

2шт.

9

221-88

REDUCER,Hex, 1/2" x 1/4" NPT

ADAPTER - reducing, 1/2 to 1/4 inch

2шт.

10

62517C1

VALVE

RESTRICTOR - hydraulic cylinder inlet hose

2шт.

11

121208

PIPE,Nipple, 1/2" NPT x 1 1/8"

FITTING - 1/2 x 1-1/16 inch, close pipe

2шт.

Выбрано товаров: 0