Запчасти Case IH 365 (8-40) - HYDRAULIC CYLINDER, 4 ID X 8 INCH STROKE (08) - HYDRAULICS

Схема запчастей Case IH 365 - (8-40) - HYDRAULIC CYLINDER, 4 ID X 8 INCH STROKE (08) - HYDRAULICS
14
16
8
6
3
11
1
30
30
29
22
4
222
15
27
24
30
2
9
25
20
17
20
24
27
7
12
26
13
30
28
5
30
17
29
21
27
4
7
23
1
10
29
18
9
30
19
FIT
1:1
100%

Артикул

Название

Примечание

Количество

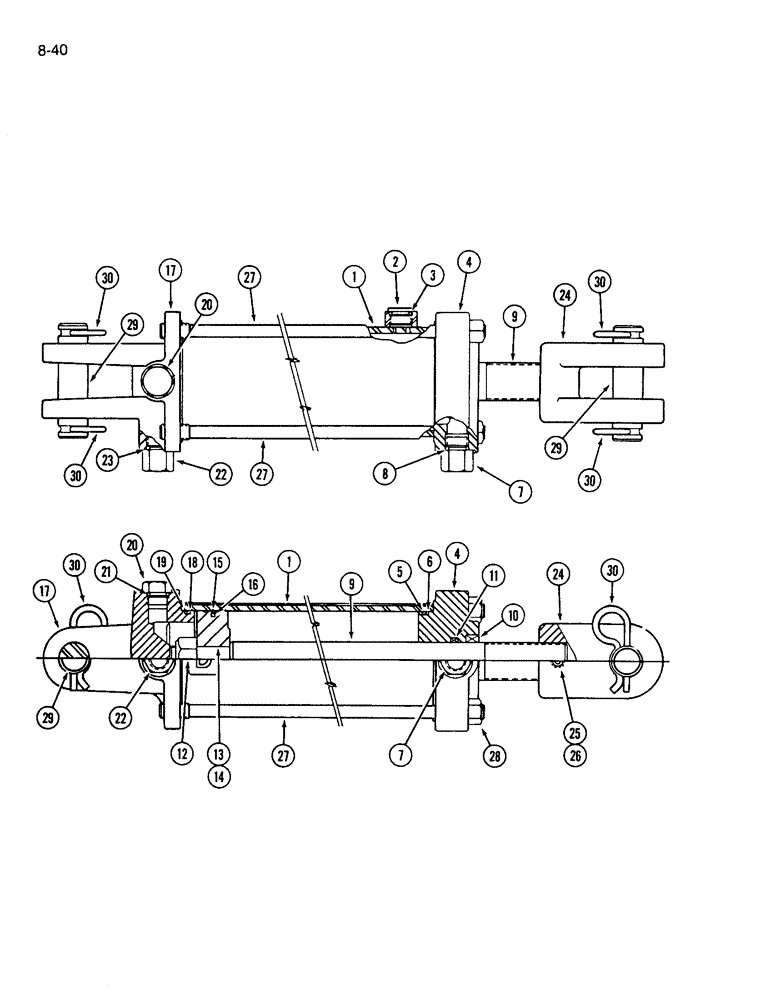
85031C91

CYLINDER ASSY.

CYLINDER ASSEMBLY - hydraulic, 4 x 8 inch (No longer available, order 85031C92 cylinder assembly)

1шт.

85031C92

CYLINDER

ASSEMBLY - hydraulic, 4 x 8 inch

1шт.

1

NSS

NOT SOLD SEPARAT

TUBE - cylinder

1шт.

2

224582C1

PLUG

- hex socket, phasing, clean out, 3/4-16 inch O-ring boss

1шт.

3

NSS

NOT SOLD SEPARAT

O-RING - 1/2 inch tube OD

1шт.

Part of seal and O-ring kit P/N 80116C2 and (2) wear rings not used on this cylinder

1шт.

4

1272920C1

HEAD

GLAND - cylinder

1шт.

5

NSS

NOT SOLD SEPARAT

O-RING - gland, 3-3/4 ID x 4 inch OD

1шт.

Part of seal and O-ring kit P/N 80116C2 and (2) wear rings not used on this cylinder

1шт.

6

NSS

NOT SOLD SEPARAT

RING - backup, gland O-ring

1шт.

Part of seal and O-ring kit P/N 80116C2 and (2) wear rings not used on this cylinder

1шт.

7

1272523C1

HYD CONNECTOR,3/4"-16 Male ORB x 3/8"-18 NPT Fem

ADAPTER - gland

1шт.

8

NSS

NOT SOLD SEPARAT

O-RING - 1/2 inch tube OD

1шт.

Part of seal and O-ring kit P/N 80116C2 and (2) wear rings not used on this cylinder

1шт.

9

1267056C1

ROD

- piston

1шт.

10

NSS

NOT SOLD SEPARAT

WIPER - piston rod

1шт.

Part of seal and O-ring kit P/N 80116C2 and (2) wear rings not used on this cylinder

1шт.

11

NSS

NOT SOLD SEPARAT

SEAL - piston rod

1шт.

Part of seal and O-ring kit P/N 80116C2 and (2) wear rings not used on this cylinder

1шт.

12

20268R1

LOCK NUT,7/8"-14, GC

NUT - hex lock, 7/8 inch NF, Grade 8

1шт.

13

149930C2

PISTON

- cylinder (Used on 85031C91 cylinder assembly)

1шт.

14

92521C1

PISTON

- cylinder (Used on 85031C92 cylinder assembly)

1шт.

15

NSS

NOT SOLD SEPARAT

SEAL - piston

1шт.

Part of seal and O-ring kit P/N 80116C2 and (2) wear rings not used on this cylinder

1шт.

16

NSS

NOT SOLD SEPARAT

O-RING - backup, piston seal, 3-1/2 ID x 3-11/16 inch OD

1шт.

Part of seal and O-ring kit P/N 80116C2 and (2) wear rings not used on this cylinder

1шт.

17

1272919C1

CYLINDER HEAD

HEAD - cylinder, closed end

1шт.

18

NSS

NOT SOLD SEPARAT

O-RING - cylinder head, 3-3/4 ID x 4 inch OD

1шт.

Part of seal and O-ring kit P/N 80116C2 and (2) wear rings not used on this cylinder

1шт.

19

NSS

NOT SOLD SEPARAT

RING - backup, cylinder head O-ring

1шт.

Part of seal and O-ring kit P/N 80116C2 and (2) wear rings not used on this cylinder

1шт.

20

9410359

PLUG

- hex, cylinder head, 3/4-16 inch O-ring boss

1шт.

21

NSS

NOT SOLD SEPARAT

O-RING - plug, 1/2 inch tube OD

1шт.

Part of seal and O-ring kit P/N 80116C2 and (2) wear rings not used on this cylinder

1шт.

22

1272523C1

HYD CONNECTOR,3/4"-16 Male ORB x 3/8"-18 NPT Fem

ADAPTER - cylinder head

1шт.

23

NSS

NOT SOLD SEPARAT

O-RING - adapter, 1/2 inch tube OD

1шт.

Part of seal and O-ring kit P/N 80116C2 and (2) wear rings not used on this cylinder

1шт.

24

1267057C1

CLEVIS,3/8" - 16

- rod end

1шт.

25

483-1386

SET SCREW,Hex Soc, 3/8"-16 x 3/8"

SCREW - set, hex socket headless, 3/8 NC x 3/8 inch, cup pt

1шт.

26

145453C1

PLUG,Lock, 7.938mm Dia x 3.175mm Thk, Nylon

PAD - insert

1шт.

27

142461C1

TIE-ROD,Tie, 5/8" - 11 x 335mm

BOLT - tie, cylinder

4шт.

28

425-1010

NUT,5/8"-11, G5

4шт.

29

1923593C1

PIN

- clevis and cylinder head

2шт.

30

520175R1

CLIP

PIN - cotter, hair, 3/16 inch diameter

4шт.

80117C2

SEAL KIT

- seal and O-ring, Includes Refs. 3, 5, 6, 8, 10, 11, 15, 16, 18, 19, 21 and 23 and (2) wear rings not used on this cylinder

1шт.

Выбрано товаров: 0