Запчасти Case IH 4300 (9-048) - WING LIFT CYLINDER MOUNTING, STANDARD TRANSPORT, VERTICAL FOLD, 12 FOOT WING (09) - CHASSIS/ATTACHMENTS

Схема запчастей Case IH 4300 - (9-048) - WING LIFT CYLINDER MOUNTING, STANDARD TRANSPORT, VERTICAL FOLD, 12 FOOT WING (09) - CHASSIS/ATTACHMENTS
13
10
12
2
14
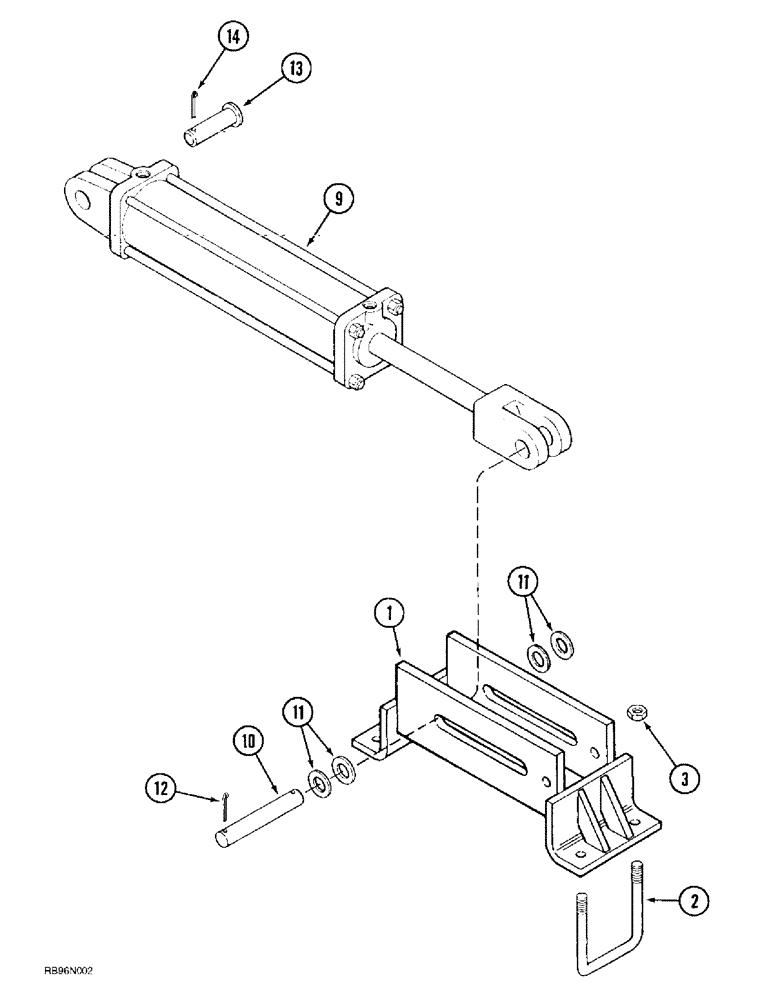
1
9
11
3
11
FIT
1:1
100%

Артикул

Название

Примечание

Количество

1

141090A2

SUPPORT

- wing lift

2шт.

2

608294R1

U-BOLT,U, 5/8" - 11 x 134mm

- 5/8 inch NC

4шт.

3

231-42110

LOCK NUT,Hex, 5/8"-11, GB

NUT - hex, self-locking, 5/8 inch NC

8шт.

9

224795C92

CYLINDER

ASSEMBLY - 102 (4) ID x 864 mm (34 inch) stroke (See Page 8-55)

2шт.

10

813192C1

PIN

- pivot

2шт.

11

495-81074

WASHER,1 1/32" x 1 3/4" x .120"

- flat, 1-1/32 x 1-3/4 x 1/8"

4шт.

12

432-1224

COTTER PIN,3/16" x 1-1/2"

3/16" x 1 1/2"

2шт.

13

810751C1

PIN

- headed, 1 x 3-1/2 inch

2шт.

14

432-1624

COTTER PIN,1/4" x 1 1/2"

Pin, Split (Cotter), 1/4" x 1-1/2"

2шт.

Выбрано товаров: 9