Запчасти Case IH 4300 (9-050) - FRONT AND REAR PRIMARY WING LIFT HINGES, AND CYLINDER MOUNTING, LOW TRANSPORT, DOUBLE FOLD (09) - CHASSIS/ATTACHMENTS

Схема запчастей Case IH 4300 - (9-050) - FRONT AND REAR PRIMARY WING LIFT HINGES, AND CYLINDER MOUNTING, LOW TRANSPORT, DOUBLE FOLD (09) - CHASSIS/ATTACHMENTS
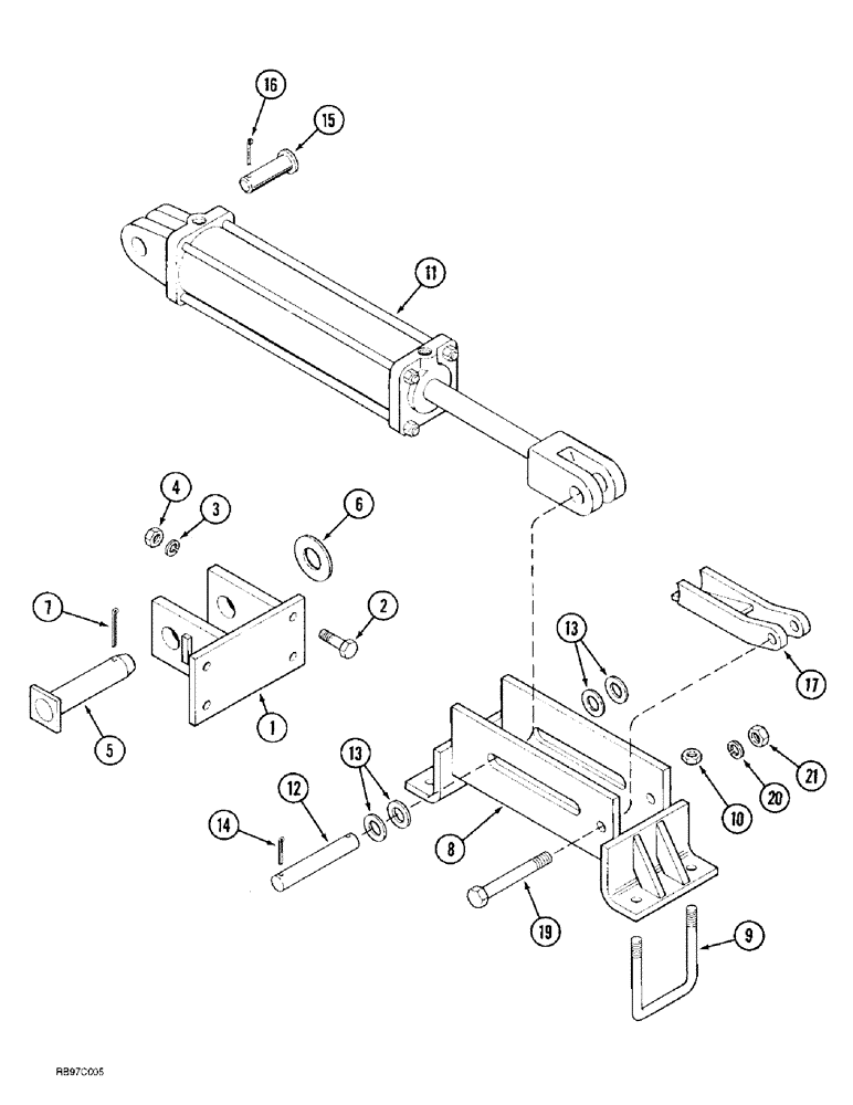
5
15
16
11
14
2
9
17
8
3
21
12
13
13
7
4
19
10
20
6
1
FIT
1:1
100%

Артикул

Название

Примечание

Количество

1

137148A1

HINGE

- wing lift

4шт.

2

413-1032

BOLT,Hex, 5/8" - 11 x 2", Gr 5

- hex, 5/8 NC x 2 inch

16шт.

3

492-11062

BEARING WASHER,5/8"

WASHER, LOCK, 5/8"

16шт.

4

425-1010

NUT,5/8"-11, G5

16шт.

5

811965C2

PIN

- hinge pivot

4шт.

6

495-11162

WASHER,1 1/2" x 3" x .165"

- flat, 1-5/8 x 3 x 5/32 inch

4шт.

7

432-2040

COTTER PIN,5/16" x 2 1/2"

Pin, Split (Cotter), 5/16" x 2 1/2"

4шт.

8

141090A2

SUPPORT

- wing lift

2шт.

9

608294R1

U-BOLT,U, 5/8" - 11 x 134mm

- 5/8 inch NC

4шт.

10

231-42110

LOCK NUT,Hex, 5/8"-11, GB

NUT - hex, self-locking, 5/8 inch NC

8шт.

11

224795C92

CYLINDER

ASSEMBLY - 102 (4) ID x 864 mm (34 inch) stroke (See Page 8-55)

2шт.

12

813192C1

PIN

- pivot

2шт.

13

495-81074

WASHER,1 1/32" x 1 3/4" x .120"

- flat, 1-1/32 x 1-3/4 x 1/8"

8шт.

14

432-1224

COTTER PIN,3/16" x 1-1/2"

3/16" x 1 1/2"

4шт.

15

810751C1

PIN

- headed, 1 x 3-1/2 inch

2шт.

16

432-1624

COTTER PIN,1/4" x 1 1/2"

Pin, Split (Cotter), 1/4" x 1-1/2"

2шт.

17

187351A1

LEVER

- wing unfold

2шт.

19

413-1296

BOLT,Hex, 3/4" - 10 x 6", Gr 5

- hex, 3/4 NC x 6 inch

2шт.

20

492-11075

LOCK WASHER,3/4"

3/4"

2шт.

21

425-1012

NUT,3/4"-10, G5

- hex, 3/4 inch NC

2шт.

Выбрано товаров: 20