Запчасти Case IH 4300 (9-056) - REAR SECONDARY WING LIFT HINGE, LOW TRANSPORT, DOUBLE FOLD, RIGID (09) - CHASSIS/ATTACHMENTS

Схема запчастей Case IH 4300 - (9-056) - REAR SECONDARY WING LIFT HINGE, LOW TRANSPORT, DOUBLE FOLD, RIGID (09) - CHASSIS/ATTACHMENTS
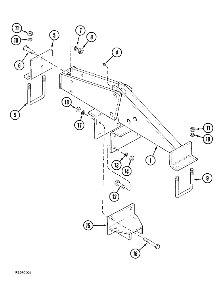
14
10
1
9
7
8
12
5
16
6
4
15
9
11
13
11
10
18
17
FIT
1:1
100%

Артикул

Название

Примечание

Количество

1

142361A1

HINGE

- wing lift, front

2шт.

4

219-87

LUBE NIPPLE,1/4" - 28 NPTF

NIPPLE, LUBE, 1/4"-28 x .56" lg, Self-Tap

2шт.

5

140991A1

BAR

ANGLE - hinge support

2шт.

6

426-1232

BOLT,Hex, 3/4" - 10 x 2", Gr 8

4шт.

7

492-11075

LOCK WASHER,3/4"

3/4"

4шт.

8

429-1012

NUT,3/4"-10, G8

- hex, 3/4 inch NC, grade 8

4шт.

9

608294R1

U-BOLT,U, 5/8" - 11 x 134mm

- 5/8 inch NC

2шт.

10

492-11062

BEARING WASHER,5/8"

WASHER, LOCK, 5/8"

4шт.

11

425-1010

NUT,5/8"-11, G5

4шт.

12

413-1032

BOLT,Hex, 5/8" - 11 x 2", Gr 5

- hex, 5/8 NC x 2 inch

8шт.

13

492-11062

BEARING WASHER,5/8"

WASHER, LOCK, 5/8"

8шт.

14

425-1010

NUT,5/8"-11, G5

8шт.

15

142370A1

STOP

- rigid wing

2шт.

16

413-1060

BOLT,Hex, 5/8" - 11 x 3-3/4", Gr 5

- hex, 5/8 NC x 3-3/4 inch

8шт.

17

492-11062

BEARING WASHER,5/8"

WASHER, LOCK, 5/8"

8шт.

18

425-1010

NUT,5/8"-11, G5

8шт.

Выбрано товаров: 16