Запчасти Case IH 4300 (9-068) - PRIMARY WING STOP, DOUBLE FOLD (09) - CHASSIS/ATTACHMENTS

Схема запчастей Case IH 4300 - (9-068) - PRIMARY WING STOP, DOUBLE FOLD (09) - CHASSIS/ATTACHMENTS
13
5
1
8
10
18
16
14
6
15
11
7
17
9
12
FIT
1:1
100%

Артикул

Название

Примечание

Количество

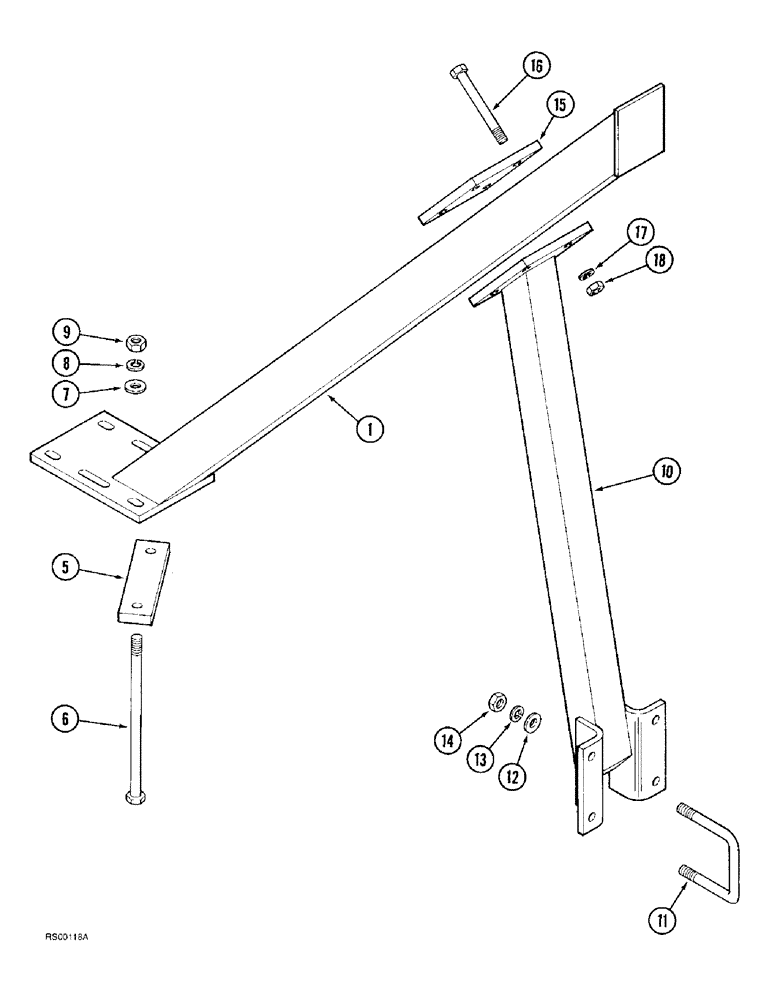
1

188226A1

STOP

- primary wing

2шт.

5

181759A1

BAR

- clamping

2шт.

6

413-10192

BOLT,Hex, 5/8" - 11 x 12", Gr 5

- hex, 5/8 NC x 12 inch

4шт.

7

495-21069

WASHER,5/8"

- flat, 11/16 x 1-3/4 x 9/64 inch

4шт.

8

492-11062

BEARING WASHER,5/8"

WASHER, LOCK, 5/8"

4шт.

9

425-1010

NUT,5/8"-11, G5

4шт.

10

188230A1

BRACE

- wing stop

2шт.

11

609871R1

BOLT,Wheel, 5/8" - 11 x 3 3/8", Class 2

U-BOLT - 5/8 inch NC

4шт.

12

495-21069

WASHER,5/8"

- flat, 11/16 x 1-3/4 x 9/64 inch

8шт.

13

492-11062

BEARING WASHER,5/8"

WASHER, LOCK, 5/8"

8шт.

14

425-1010

NUT,5/8"-11, G5

8шт.

15

188229A1

LARGE PLATE

PLATE - brace mounting

2шт.

16

413-1080

BOLT,Hex, 5/8" - 11 x 5", Gr 5

8шт.

17

492-11062

BEARING WASHER,5/8"

WASHER, LOCK, 5/8"

8шт.

18

425-1010

NUT,5/8"-11, G5

8шт.

Выбрано товаров: 15