Запчасти Case IH 4300 (9-072) - GAUGE WHEEL, PIN ADJUSTABLE (09) - CHASSIS/ATTACHMENTS

Схема запчастей Case IH 4300 - (9-072) - GAUGE WHEEL, PIN ADJUSTABLE (09) - CHASSIS/ATTACHMENTS
1
4
9
3
6
7
2
10
5
8
FIT
1:1
100%

Артикул

Название

Примечание

Количество

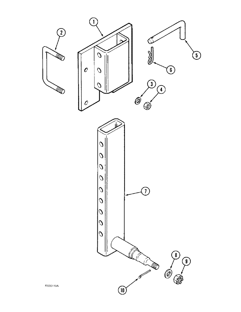
179411A2

ATTACHMENT - pin adjustable gauge wheel

1шт.

1

179090A1

SUPPORT

- gauge wheel

2шт.

2

811627C2

U-BOLT

- 5/8 inch NC, 2 x 5 inch

4шт.

3

492-11062

BEARING WASHER,5/8"

WASHER, LOCK, 5/8"

8шт.

4

425-1010

NUT,5/8"-11, G5

8шт.

5

811951C1

PIN

- retaining

2шт.

6

1978739C1

PIN

- hair

2шт.

7

811542C92

AXLE

ASSEMBLY - gauge wheel

2шт.

8

369857R1

WASHER,20.7mm ID x 31.75mm OD x 3mm Thk

- flat, special, 25/32 x 1/4 x 1/8 inch

1шт.

9

425-1312

SLOTTED NUT,3/4"-16, G5

NUT - hex, slotted, 3/4 inch NF

1шт.

10

432-824

COTTER PIN,1/8" x 1 1/2"

PIN, SPLIT (COTTER), 1/8" x 1-1/2"

1шт.

Выбрано товаров: 11