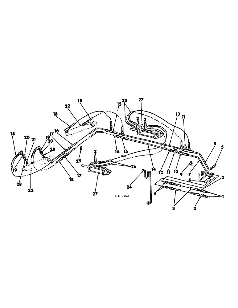
Запчасти Case IH 45 (D-44) - WING LIFT HYD,W/SINGLE MAIN ROCKSHAFT,W/SINGLE HYD CTRL UNIT,226" MODEL BUILT 1974 -AUG 1976 SEASON

Схема запчастей Case IH 45 - (D-44) - WING LIFT HYD,W/SINGLE MAIN ROCKSHAFT,W/SINGLE HYD CTRL UNIT,226" MODEL BUILT 1974 -AUG 1976 SEASON
FIT
1:1
100%

Артикул

Название

Примечание

Количество

1

395149R1

QUICK MALE COUPLING

COUPLER, hydraulic male, opt w/544787R91, coupler

2шт.

1

544787R91

COUPLING, BREAK AWAY

COUPLER, hydraulic male, opt w/395149R1, recommended hydraulic parts

2шт.

2

364885R1

O-RING,0.097" Thk x 0.755" ID, -910, Cl 6, 90 Duro

hydraulic

8шт.

3

464046R91

HOSE ASSY.

HOSE ASSY, 1/2 x 75 inch long hyd, recommended hydraulic parts

2шт.

4

478754R1

ADAPTER

UNION, 3/4-16 to 7/8-16 hyd 37 degree flared tube reducing

2шт.

5

811273C1

CLAMP, hydraulic tube upper

1шт.

6

811274C1

CLAMP, hydraulic tube lower

1шт.

180113

SPRING

5/16-18 x 3 hex-hd

2шт.

120376

NUT,5/16"-18, G5

2шт.

80681

LOCK WASHER,5/16"

WASHER, LOCK, 5/16"

2шт.

7

599678R11

TUBE ASSY, union to valve cut-off

1шт.

8

599677R11

TUBE ASSY, union to valve cut-off

1шт.

9

588322R2

CLAMP, hydraulic tube dual

6шт.

413-412

BOLT,Hex, 1/4" - 20 x 3/4", Gr 5

6шт.

120375

NUT,Hex, 1/4" - 20, Gr 5

6шт.

492-11025

LOCK WASHER,1/4"

WASHER, LOCK, 1/4"

6шт.

10

9403138

TEE,3/4"-16, 37 Degree x 3/8"-18, NPTF Fem Run

3/4-16 three-way

2шт.

11

675275R91

VALVE

ASSY, hyd cut-off

2шт.

12

9402748

HYD CONNECTOR,3/4"-16, 37 Degree x 3/8"-18, Fem Pipe

CONNECTOR, 3/4-16 valve to pipe

2шт.

13

599673R11

TUBE

ASSY, 68 inch cut-off valve upper to wing lift hyd cyl tee

1шт.

14

599672R11

TUBE ASSY, 65 inch cut-off valve lower to wing lift hyd cyl tee 1" OD, 65" Length

1шт.

15

9402982

TEE,3/4"-16, 37 Degree

3/4-16 three-way

2шт.

16

599676R11

TUBE ASSY, tee to wing lift hyd cyl 80" Length

2шт.

17

9402787

UNION,3/4"-16, 37 Degree x 3/4"-16, 37 Degree

3/4-16 hyd 37 degree flared

2шт.

18

811276C1

HOSE

36 inch long lift cyl

4шт.

19

364839R1

O-RING,0.078" Thk x 0.468" ID, -906, Cl 6, 90 Duro

6-1, 90 Duro, .468" ID x .078" Thk, hyd lift cylinder hose

4шт.

20

610952R1

ADAPTER

UNION, 3/4-16 to 9/16-18 wing lift hyd cyl front & rear port

4шт.

21

811912C1

WASHER

flow retarder disk

2шт.

22

811888C91

CYLINDER

ASSY, wing lift hydraulic, refer to wing lift hyd cyl

2шт.

594608R1

PIN

hydraulic cylinder

4шт.

119202

PIN

3/8 x 2-1/4 cotter

4шт.

23

599679R1

HOSE

1/2 x 60 inch long tee to LH remote control hyd cyl

2шт.

24

651793R2

SUPPORT

flexible hose

1шт.

271723

SNAP RING,Hex, 5/8" - 11 x 2", Gr 5

5/8-11 x 2 hex-hd

1шт.

124589

BALL STUD,Hex, 5/8" - 11 x 2", Gr 5

5/8-11 hex

1шт.

492-11062

BEARING WASHER,5/8"

WASHER, LOCK, 5/8"

1шт.

464623R1

WASHER

.656 x 1.500 x .105

2шт.

25

317054R1

CLAMP

hydraulic hose dual

3шт.

180085

SPRING

5/16-18 x 1-3/4 hex-hd

1шт.

113-233

BOLT,Hex, 3/8" - 16 x 1-3/4", Gr 5

2шт.

120376

NUT,5/16"-18, G5

1шт.

120377

NUT,3/8" - 16, Gr 5

2шт.

26

372437R91

HOSE

1/2 x 112 inch long LH hyd cyl to RH hyd cyl

2шт.

27

403842R93

CYLINDER, 3-1/2 x 8 inch DA hyd

2шт.

27

371292R95

CYLINDER

3-1/2 x 8 inch DA hyd

2шт.

27

61105C91

CYLINDER

3-1/2 x 8 inch DA hyd, recommended hydraulic parts, for components refer to remote control hyd cyl

2шт.

28

570828R1

O-RING,0.087" Thk x 0.644" ID, -908, Cl 6, 90 Duro

hyd

4шт.

Выбрано товаров: 0